Voronezh State Agrarian University named after Emperor Peter I has patented an internal combustion engine (ICE) with automatic compression ratio adjustment. The unusual solution is aimed at reducing the engine's weight and dimensions while simultaneously increasing reliability and service life, reducing fuel consumption, and improving the durability of components.
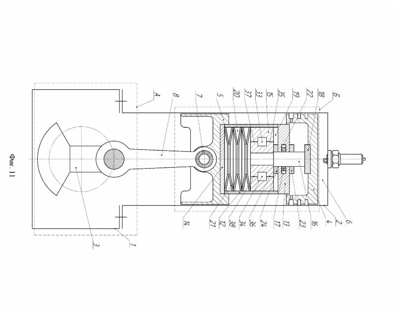
The engineers' design uses a composite piston consisting of two parts. The upper part takes the gas pressure, while the lower part is connected to the crankshaft through a connecting rod or an alternative mechanism.
Between them, they built in a hydraulic system with two oil chambers and a piston that changes their volume during operation.
The compression ratio is adjusted automatically due to the movement of the upper part of the piston. This is handled by two check valves - high-pressure and low-pressure - and a block of elastic elements in the form of disc springs. They operate with preload and provide a stable response to load.
The minimum and maximum compression ratios are set by calibrated rings. The pressure in the system reaches 0.15-0.25 MPa, which makes it possible to use a compact hydraulic accumulator.
Read more materials on the topic:
- Silovye mashiny doubles turbine production output
- Engines from the Il-76MD became turbines with a service life of 5 million hours and power electric plants
- Foreign customers did not pay ODK $2.1 million for turbines