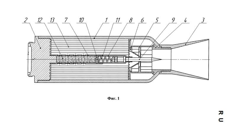
Specialists from the Khrulyov Military Academy of Logistics developed an innovative launch rocket engine (SRE) for grenades. Its key feature is the ability to maintain high firing accuracy in an extreme temperature range: from −50 °C to +50 °C.
At the heart of the development is a needle valve built into the engine's supersonic nozzle. At normal pressure in the combustion chamber, the valve is closed. However, if the pressure rises sharply due to heat, the valve automatically opens slightly, increasing the area of the nozzle exit section. This stabilizes the pressure and velocity of the escaping gases, and therefore the grenade's muzzle velocity.
Additional stability is provided by the vortex boosting unit (VBU), which organizes more complete and uniform combustion of the propellant charge.
The problem with existing engines is the strong dependence of the propellant burn rate on ambient temperature. This led to a spread in the grenade's muzzle velocity of up to 18%, reducing the weapon's accuracy and effectiveness. The new engine solves this problem with the help of a self-regulation system.
Read more materials:
- A reinforced tank barrel with an armored shroud was developed in Russia
- Chechen engineers from Tallamkho tested the "Ronin 3" combat turret with artificial intelligence against drones
- In demand worldwide: Russia sold $60 billion worth of weapons