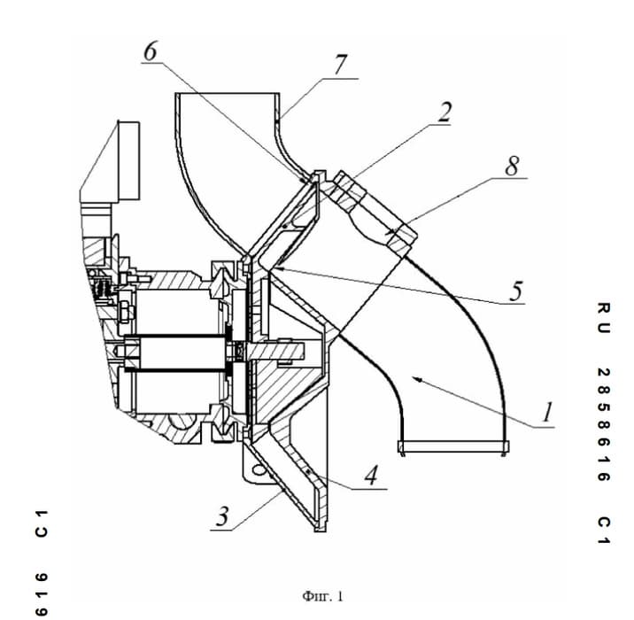
In Russia, a method for operating a two-stroke engine with a supercharger has been patented, which allows utilizing the energy of exhaust gases without impairing cylinder scavenging. The solution involves changing the exhaust scheme and redistributing flows in the exhaust system; the development is being carried out by the St. Petersburg company "Northern Wind."
According to the new scheme, after the power stroke, the combustion products exit through the exhaust port into the manifold. Then, the cylinder is scavenged with a fresh charge through the scavenging ports. At a specific moment, the exhaust manifold is blocked by a special device, increasing pressure and returning part of the fresh mixture back into the cylinder.
The key difference is the use of a channel through which part of the exhaust gases is directed to the gas turbine. Before the manifold is blocked, residual gases that have not escaped into the atmosphere enter the turbine. After blocking, part of the flow that has not returned to the cylinder is directed there.
This scheme allows simultaneously maintaining effective cylinder cleaning and utilizing exhaust energy. The obtained energy can be used in a separate expansion machine or to drive a compressor.
The authors indicate that the solution reduces the thermal load on the engine and increases its specific parameters. Additionally, it is permissible to regulate the proportion of gases entering the turbine, depending on the operating mode.
Read more materials on the topic:
Now on home
Microwave filters are now tuned in minutes instead of hours
Governor of Primorye Kozhemyako: In parallel, the construction of two new power units at the Partizanskaya GRES continues
Pre-production model is already undergoing certification for admission to public roads
MAI scientists have developed a method to protect against bone loss in space
The Match 160 Model in the IGLA Line is Assembled from Russian Components and Contains No Lead
The development of PNRPU reduces pollution by adjusting the fuel temperature and the geometry of the combustion chamber
The Emirates were dissatisfied with the terms of cooperation with France
Rais of Tatarstan Minnikhanov voiced problems for the introduction of domestic power equipment
Tens of thousands of specialists, filters, and up-to-date appointment slots are available
Aviation expert Roman Gusarov: we will not see a power plant under the wing of an aircraft in the current decade