In Russia, a model of a flat jet nozzle for promising supersonic civilian aircraft has been registered. The development is designed to reduce noise and maintain thrust and economic characteristics during takeoff and landing.
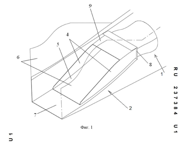
The nozzle has a rectangular critical section and consists of subsonic and supersonic parts. The supersonic part is elongated by 6-8 calibers and equipped with an adjustable flap that deflects downward at an angle of up to 20°. The nozzle is installed with a gap in a U-shaped niche in the rear of the fuselage, formed by the keels of the vertical tail and the shielding surface.
This scheme shields the jet and reduces the acoustic impact on the area during takeoff and landing modes. At the same time, the gap improves the flow around the rear of the fuselage and reduces thrust loss.
Calculations show that thrust losses are 1.5-2.5% of ideal thrust, which corresponds to the level of round axisymmetric nozzles.
At the same time, the design contains only one moving element - an adjustable flap, which reduces weight and complexity compared to noise reduction systems with several rows of flaps.
As a reminder, a flat nozzle in Russia has already been proposed for usein the new second-stage AL-51F1 engine for the Su-57 fighter. But there, this configuration is designed to reduce the radar and thermal signature of the aircraft in the rear hemisphere.
Read more materials on the topic:
Now on home
Trains from Russia to China have not run since 2020
The fighter will not have to enter the SAM engagement zone
Uralvagonzavod published unique footage capturing 2000 kilometers of equipment testing in extreme conditions
Specialists also created a heat-resistant muzzle brake-compensator for automatic weapons
Kurchatov Institute is working on the new product
The amount of payments was indexed for the bankrupt German concern in Russia
The M1.1 flare lasted 48 minutes in sunspot group 4373
The three-car train with a range of 725 km will form the basis of a pilot project in Sakhalin
Russian soldiers also use the Verba MANPADS against drones
New scheme saves tons of fuel
The specialist shared the history of the 2000 contract, which overcame fierce competition
The third vessel in the series with a 52-meter hold for oversized cargo was built for Caspian routes
Articles
-
From Czech Heritage to Domestic Engine: How the L-410 Fleet is Transforming in the New Geopolitical Conditions
11 Feb 2026
-
The National Interest: Russia Seeks Buyers for Su-57, But with Mixed Success
11 Feb 2026
-
The National Interest: Russia's Main Strength Is a Small but Advanced Submarine Fleet
10 Feb 2026
-
Sarma MLRS hits targets with surgical precision - military expert Korotchenko
09 Feb 2026