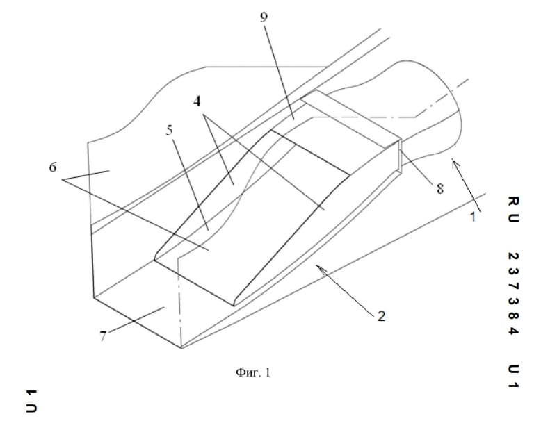
В России зарегистрировали модель плоского реактивного сопла для перспективных сверхзвуковых гражданских самолётов. Разработка предназначена для уменьшения шума и сохранения тягово-экономических характеристик на взлёте и посадке.
Сопло имеет прямоугольное критическое сечение и состоит из дозвуковой и сверхзвуковой частей. Сверхзвуковая часть удлинена на 6–8 калибров и оснащена регулируемой створкой, которая отклоняется вниз на угол до 20°. Сопло устанавливается с зазором в П-образной нише кормовой части фюзеляжа, образованной килями вертикального оперения и экранирующей поверхностью.
Такая схема экранирует струю и снижает акустическое воздействие на местности на взлётно-посадочных режимах. Одновременно зазор улучшает обтекание кормовой части и снижает потери тяги.
Расчёты показывают, что потери тяги составляют 1,5–2,5% идеальной тяги, что соответствует уровню круглых осесимметричных сопел.
При этом конструкция содержит только один подвижный элемент — регулируемую створку, что снижает массу и сложность по сравнению с шумоглушащими системами с несколькими рядами створок.
Напомним, плоское сопло в России уже предложили использовать в новом двигателе второго этапа АЛ-51Ф1 для истребителя Су-57. Но там такая конфигурация предназначена для снижения радиолокационной и тепловой заметности самолёта в задней полусфере.
Читайте ещё материалы по теме:
Сейчас на главной
Все комплектации внедорожника прибавили в стоимости по 18 тысяч рублей
Новейшие боеприпасы покажут на выставке World Defense Show 2026 в Эр-Рияде
Новые локомотивы с асинхронным приводом сокращают энергопотребление на 20% и увеличивают межремонтный период до 45 дней
Российский концерн покажет отечественные комплексы наблюдения, идентификации и управления беспилотниками
Новый метод опирается на анализ сигналов от наземных базовых станций
Вспышки X1.5, X2.8 и X8.1 зафикисировали в области 4366
Реактивные боеприпасы с игольчатым клапаном могут работать в любой мороз
Собственников и фрахтователей «Волгонефти» вызвали в суд
На одометре автомобиля всего 315 км
Апелляционная инстанция поддержала решение о санкциях по проекту RSD49, несмотря на иск завода
Боевой самолёт сопроводил важный борт в небе над Сирией
Микровзрывы внутри горящей смеси увеличили зону горения на 50% — это поможет создавать более предсказуемые двигатели
Статьи
-
Без своего Starlink не справиться: какая спутниковая связь нужна армии России
01 фев 2026
-
Как советский инженер превратил самолёт Гагарина в вездеход: история ГМВ-2
01 фев 2026
-
МиГ-29 для Ирана: как российские истребители меняют баланс сил на Ближнем Востоке
31 янв 2026
-
Геологоразведка России: за предыдущий год открыто 317 новых месторождений стратегического сырья
30 янв 2026