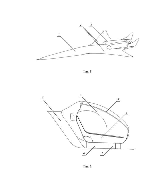
Российские инженеры разработали надкрыльевой воздухозаборник, который повышает эффективность и газодинамическую устойчивость силовой установки сверхзвуковых гражданских самолётов. Изобретение уже зарегистрировали в патентной базе ФИПС.

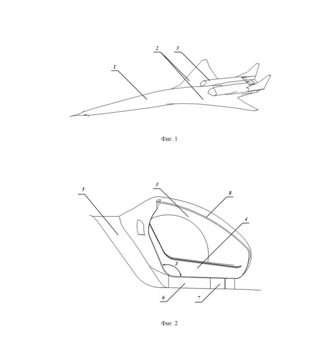
Новая конструкция расположена над крылом и оснащена каплевидным входом, адаптированным под форму фюзеляжа, и двугранной поверхностью торможения с плавным сопряжением плоскостей.

Это позволяет снизить влияние толстого пограничного слоя, нарастающего на поверхности самолёта при сверхзвуковом полёте, и избежать отрывных течений внутри воздухозаборника, уверены авторы проекта.

Особенность разработки — система управления пограничным слоем, включающая поперечные щели, полость под панелью и окна для отвода воздуха во внешний поток. Верхняя часть обечайки воздухозаборника подрезана для оптимизации работы на крейсерской скорости, что предотвращает турбулентность и повышает стабильность подачи воздуха в двигатель.

С помощью такой схемы обеспечивается низкая неоднородность потока на входе в двигатель и сохраняются показатели полного давления на уровне классических сверхзвуковых схем с подкрыльевым или подфюзеляжным размещением воздухозаборников.

Испытания модели в аэродинамических трубах подтвердили высокую эффективность и газодинамическую устойчивость работы силовой установки.

Ранее генеральный директор Центрального института авиационного моторостроения имени П. И. Баранова (ЦИАМ) Андрей Козлов прогнозировал, что первые сверхзвуковые самолёты в России могут появиться не раньше 2040 годов.

Читайте ещё материалы по теме:

Источники
ФИПС

Сейчас на главной

Нейросети врут убедительно: опасную закономерность вскрыло исследование Пермского политеха
3 часа назад
Нейросети врут убедительно: опасную закономерность вскрыло исследование Пермского политеха

В медицине и беспилотниках ошибка ИИ может стоить человеку жизни, выяснили учёные

Новости Наука Нейросети ПНИПУ
Олеся Михайлова
Сотни уровней для артиллерии безвозмездно изготовили работники «Роскосмоса», проработав за станками сверх нормы
3 часа назад
Сотни уровней для артиллерии безвозмездно изготовили работники «Роскосмоса», проработав за станками сверх нормы

Сотрудники госкорпорации выточили и собрали запчасти своими силами

Новости Военная техника Промышленность Роскосмос
Олеся Михайлова
Самолёт МС-21 проверили суровым севером: лайнер вернулся с испытаний в Сыктывкаре
4 часа назад
Самолёт МС-21 проверили суровым севером: лайнер вернулся с испытаний в Сыктывкаре

Специалисты оценили аэродинамические поправки приёмников давления на разных высотах

Новости Авиация ОАК
Олеся Михайлова
Вертолет Ка-29 приспособили к охоте на безэкипажные катера в Чёрном море
4 часа назад
Вертолет Ка-29 приспособили к охоте на безэкипажные катера в Чёрном море

Экипажи ведут огонь неуправляемыми ракетами и пушками в упор, несмотря на риск атак

Новости Авиация Военная техника
Олеся Михайлова
Мощнейший звёздный взрыв на расстоянии 2400 световых лет от Земли показал Роскосмос
5 часов назад
Мощнейший звёздный взрыв на расстоянии 2400 световых лет от Земли показал Роскосмос

Остаток сверхновой напоминает космическую «рваную занавеску» в созвездии Лебедя

Новости Наука Роскосмос
Олеся Михайлова
Вскрылись хищения на 100 млн рублей? За что арестовали экс-главу «Туполева»
5 часов назад
Вскрылись хищения на 100 млн рублей? За что арестовали экс-главу «Туполева»

Константин Тимофеев руководил предприятием всего 10 месяцев и известен откровенными заявлениями о проблемах в авиапроме

Новости Авиация Промышленность ОАК Казанский авиазавод АО «Туполев» 1
Олеся Михайлова
УАЗ с туристами провалился под лёд на Байкале: погибли восемь человек
6 часов назад
УАЗ с туристами провалился под лёд на Байкале: погибли восемь человек

Маршрут был незаконным, ледовая переправа была официально закрыта

Новости Общая
Богдан Герцен
АвтоВАЗ предложил унифицировать признание локализации автокомпонентов с Белоруссией
6 часов назад
АвтоВАЗ предложил унифицировать признание локализации автокомпонентов с Белоруссией

Инициатива позволит российским и белорусским производителям учитывать взаимные компоненты при начислении баллов

Новости Авто АвтоВАЗ
Богдан Герцен
Почти российский MAN: выпуск грузовиков Uraman с подъёмной осью начался в Ульяновской области
7 часов назад
Почти российский MAN: выпуск грузовиков Uraman с подъёмной осью начался в Ульяновской области

Новое шасси рассчитано на коммунальную и дорожную технику массой до 30 тонн

Новости Транспорт ООО «АЗ Велес» Автозавод «Велес»
Богдан Герцен
МЖД задействовала 6 тысяч человек для ликвидации последствий рекордного снегопада
7 часов назад
МЖД задействовала 6 тысяч человек для ликвидации последствий рекордного снегопада

Снегопад 19 февраля стал сильнейшим за почти 60 лет наблюдений

Новости Транспорт Московская железная дорога
Богдан Герцен
Россия и Китай укрепляют партнёрство в СПГ: Путин подписал закон о ратификации протокола
8 часов назад
Россия и Китай укрепляют партнёрство в СПГ: Путин подписал закон о ратификации протокола

Соглашение расширит участие китайских компаний в российских газовых проектах

Новости Промышленность Правительство РФ
Богдан Герцен
Отечественный 32-дюймовый 4K-монитор выпустила ГК «Бештау»
8 часов назад
Отечественный 32-дюймовый 4K-монитор выпустила ГК «Бештау»

Видимая область экрана — 80 см для комфортной работы

Новости Промышленность ГК «Бештау»
Олеся Михайлова