New type of reactor for syngas production created by scientists at Perm Polytechnic

New development by Russian scientists increases syngas production by 30% due to uniform heating

Researchers at Perm National Research Polytechnic University (PNRPU) have presented an improved reactor for the production of syngas, a key component of the chemical industry. This invention,patented under the "Priority-2030" program, solves the problem of uneven heating of the catalyst in traditional reactors, which significantly increases the efficiency of the process.

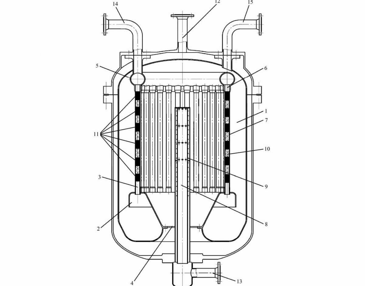
Reactor scheme
Reactor scheme

Syngas, consisting of hydrogen and carbon monoxide, is widely used for the production of fuels, plastics, fertilizers, and pharmaceuticals. It is usually obtained by catalytic conversion of hydrocarbons, but existing reactors suffer from temperature imbalances in the catalyst layers. Metallic elements heat up faster than ceramic ones, leading to overheating at the walls and insufficient heating in the center.

PNRPU engineers have proposed a solution: alternating layers of catalyst (nickel-ceramic granules) and metal balls inside the reaction tubes. This improves heat transfer and ensures uniform heating.

Our device for producing syngas contains a reactor chamber - a hollow cylinder inside which 30 channels (tubes) of increased diameter and a heating system, which is a central tube with holes for heat output, are installed. The channels themselves are filled with alternating layers of catalyst (nickel with ceramics) and a layer of metal balls. This design ensures uniform heating and increases reactor productivity by 30%.
Nikolai Kondrashov, Chief Project Engineer at PNRPU

The principle of operation of the developed reactor is as follows: carbon dioxide and water vapor are fed under pressure into the central tube and ignited, heating the walls to a temperature of 900 degrees. Hydrocarbon raw materials, such as methane, are fed into the reaction channels. It passes through layers of metal balls and catalyst, where a chemical reaction occurs, resulting in the formation of hydrogen and carbon monoxide. The resulting syngas is discharged from the reactor.

Tests of a prototype at a nuclear industry enterprise confirmed the effectiveness of the development.

Read also materials on the topic:

Method for synthesizing promising europium compounds for sensors and protection against counterfeiting developed by Russian scientists

Aerosol printer for printing microcircuits and neuroimplants developed by Russian scientists

Irradiated resin: scientists from Perm Polytechnic University found out how radiation improves the properties of polyester resins

Источники
Press-sluzhba PNIPU

Now on home