Исследователи Пермского национального исследовательского политехнического университета (ПНИПУ) представили усовершенствованный реактор для производства синтез-газа — ключевого компонента химической промышленности. Это изобретение, запатентованное в рамках программы «Приоритет-2030», решает проблему неравномерного нагрева катализатора в традиционных реакторах, что значительно повышает эффективность процесса.

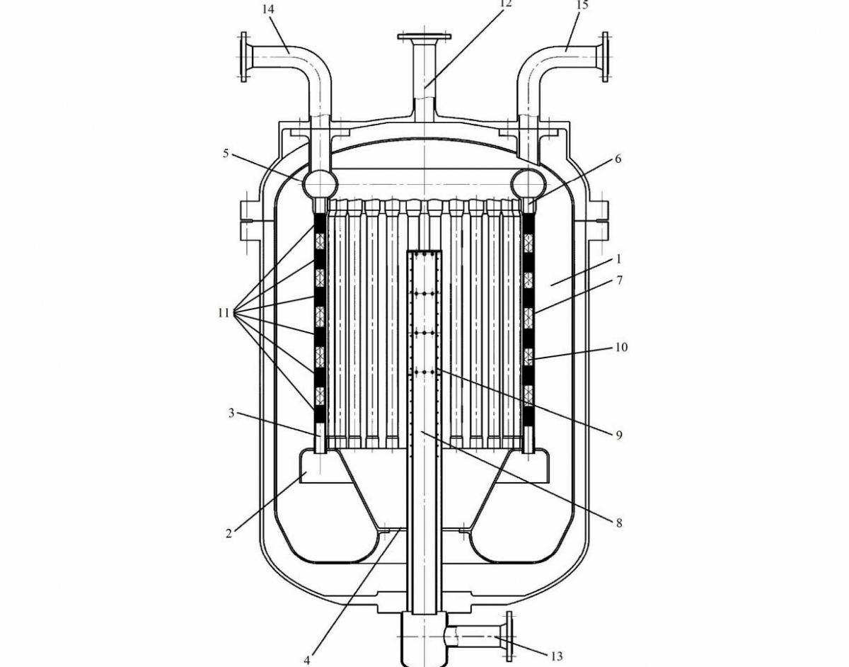
Схема реактора
Схема реактора

Синтез-газ, состоящий из водорода и оксида углерода, широко используется для производства топлива, пластмасс, удобрений и фармацевтических препаратов. Обычно его получают путем каталитического преобразования углеводородов, но существующие реакторы страдают от дисбаланса температур в слоях катализатора. Металлические элементы нагреваются быстрее керамических, что приводит к перегреву у стенок и недостаточному прогреву в центре.

Инженеры ПНИПУ предложили решение: чередование слоев катализатора (никель-керамические гранулы) и металлических шариков внутри реакционных трубок. Это улучшает теплопередачу и обеспечивает равномерный нагрев.

Наше устройство для получения синтез-газа содержит реакторную камеру — полый цилиндр, внутри которого установлены 30 каналов (трубок) увеличенного диаметра и система нагрева, представляющая собой центральную трубу с отверстиями для выхода тепла. Сами каналы заполнены с чередованием слоев катализатора (никель с керамикой) и слоя металлических шариков. Такая конструкция обеспечивает одинаковый прогрев и повышение производительности реактора на 30%.
Николай Кондрашов, главный инженер проектов ПНИПУ

Принцип работы разработанного реактора заключается в следующем: углекислый газ и водяной пар под давлением поступают в центральную трубу и воспламеняются, нагревая стенки до температуры 900 градусов. В реакционные каналы подаётся углеводородное сырьё, например, метан. Оно проходит через слои металлических шариков и катализатора, где происходит химическая реакция, в результате которой образуются водород и оксид углерода. Полученный синтез-газ выводится из реактора.

Испытания опытного образца на предприятии атомной отрасли подтвердили эффективность разработки.

Читайте ещё материалы по теме:

Метод синтеза перспективных соединений европия для сенсоров и защиты от подделок разработан российскими учёными

Аэрозольный принтер для печати микросхем и нейроимплантов разработан российскими учёными

Облучили смолу: учёные Пермского Политеха выяснили, как радиация улучшает свойства полиэфирных смол

Сейчас на главной

Экономист объяснил проблему МС-21 и SJ-100: чудес не бывает
38 секунд назад
Экономист объяснил проблему МС-21 и SJ-100: чудес не бывает

Игнорировать тренды на топливную эффективность не получится

Новости Авиация
Максим Борисов
Глава торговой палаты США назвал санкции против авиапрома России ошибкой
3 минуты назад
Глава торговой палаты США назвал санкции против авиапрома России ошибкой

Роберт Эйджи постарается убедить коллег в Вашингтоне снять ограничения

Новости Авиация
Максим Борисов
«Проще создать с нуля»: авиаэксперт раскритиковал идею реанимации самолёта Ту-334
8 минут назад
«Проще создать с нуля»: авиаэксперт раскритиковал идею реанимации самолёта Ту-334

Роман Гусаров заявил, что «тушка» годится лишь в роли памятника или музейного экспоната

Новости Авиация
Максим Борисов
30 ледоколов и 2 буксира ледового класса обеспечили проводку 2,5 тысячи судов
11 минут назад
30 ледоколов и 2 буксира ледового класса обеспечили проводку 2,5 тысячи судов

Работа проводилась в 16 портах страны с начала зимней навигации 2025-2026 годов

Новости Транспорт ФГУП «Росморпорт»
Алина Шруб
Опять пошумели: российские бомбардировщики Ту-95, истребители Су-35 и самолёт-разведчик А-50 заметили у берегов Аляски
37 минут назад
Опять пошумели: российские бомбардировщики Ту-95, истребители Су-35 и самолёт-разведчик А-50 заметили у берегов Аляски

Американские истребители F-35A и F-16 вылетели на плановое сопровождение

Новости Военная техника
Андрей Рудковский
Технологию упрочнения деталей МС-21 и SJ-100 разрабатывают в ИРНИТУ
1 час назад
Технологию упрочнения деталей МС-21 и SJ-100 разрабатывают в ИРНИТУ

Процесс роликовой раскатки улучшит качество маложёстких компонентов и снизит напряжения в узлах и агрегатах

Новости Авиация ПАО «Яковлев» ИРНИТУ
Андрей Рудковский
С 606-сильным двигателем: БелАЗ представил новый фронтальный погрузчик 78242
1 час назад
С 606-сильным двигателем: БелАЗ представил новый фронтальный погрузчик 78242

Модель способна поднимать 11,5 тонны за один подход

Новости Транспорт БелАЗ
Алина Шруб
Конкурент «Соболя»: производство минивэнов Sollers SF1 запустили в Елабуге
1 час назад
Конкурент «Соболя»: производство минивэнов Sollers SF1 запустили в Елабуге

Цена — 2,25 млн рублей, модель уже включена в перечень Минпромторга для такси

Новости Авто «Соллерс»
Олеся Михайлова
Потревожили старика: давно законсервированный Ту-334-100 красят для авиакомпании «Россия»
1 час назад
Потревожили старика: давно законсервированный Ту-334-100 красят для авиакомпании «Россия»

Самолёт создавали в 90-х на замену старым советским лайнерам

Новости Авиация Казанский авиазавод
Андрей Рудковский
Атомному флоту лёд не страшен: ледокол «Сибирь» присоединился к проводке судов в обледеневшем Финском заливе
1 час назад
Атомному флоту лёд не страшен: ледокол «Сибирь» присоединился к проводке судов в обледеневшем Финском заливе

Навигацию в регионе обеспечивают 13 дизельных и один атомный ледокол проекта 22220

Новости Транспорт ГК «Росатом» Минтранс России
Алина Шруб
Новейшие импортозамещённые станки с ЧПУ закупил «Калашников»
2 часа назад
Новейшие импортозамещённые станки с ЧПУ закупил «Калашников»

Оборудование произведено в Липецке и проходит пусконаладку

Новости Промышленность АО «ЛОМО» «Калашников» Липецкое станкостроительное предприятие
Олеся Михайлова
Беспилотный самосвал КАМАЗ-65119 начал проходить испытания на гранитном карьере в ДНР
2 часа назад
Беспилотный самосвал КАМАЗ-65119 начал проходить испытания на гранитном карьере в ДНР

Эксперты оценят возможности автономной грузовой системы в реальных условиях

Новости Транспорт КамАЗ
Андрей Рудковский