Российский сверхзвуковой лайнер получит новую форму фюзеляжа

Изменённая компоновка кормовой части уменьшает потери и повышает эффективность полёта

Новый российский сверхзвуковой пассажирский самолёт выполнят без традиционного лобового остекления, сообщали в Государственном научно-исследовательском институте авиационных систем.

Такая конструктивная особенность потребует от инженеров как следует продумать меры ситуативной осведомлённости экипажа, ведь ориентироваться им придётся только на экраны с видеокартинкой и показатели приборов.

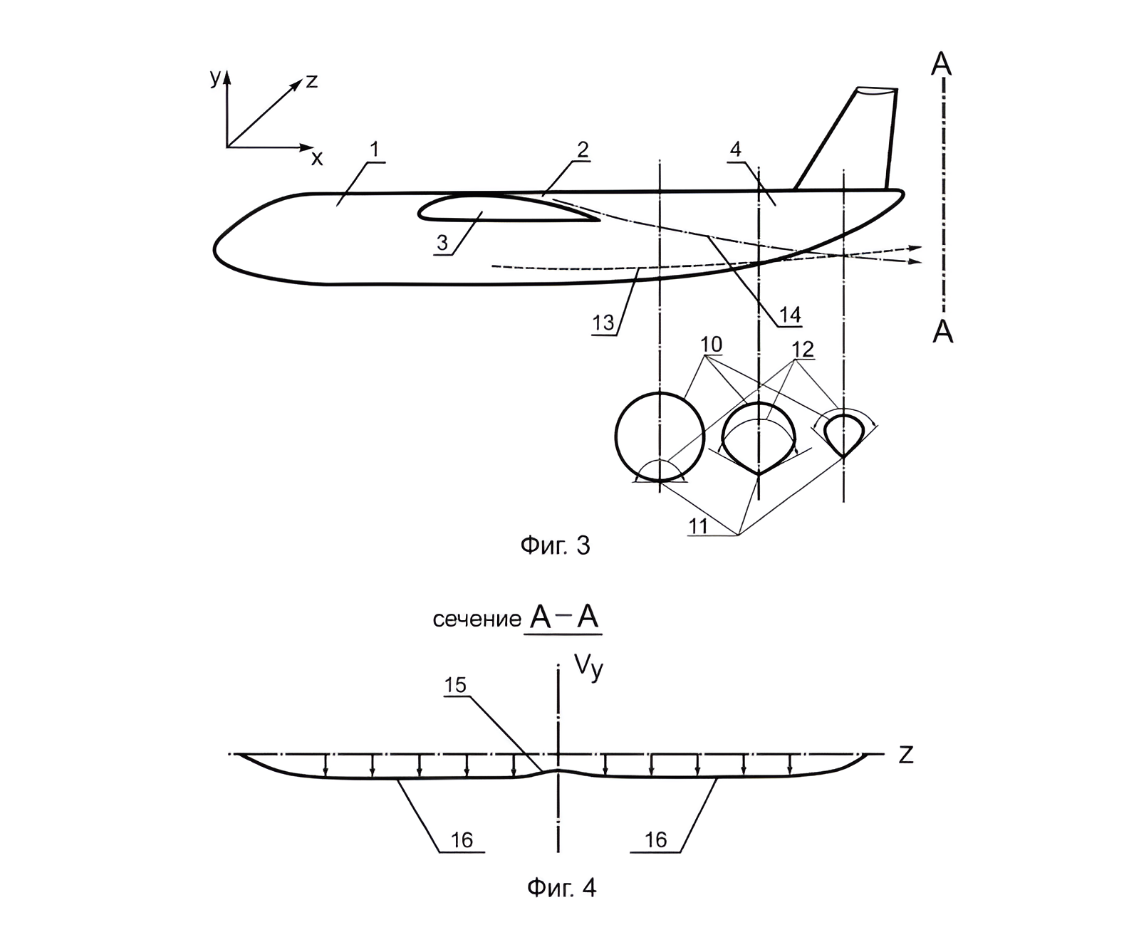
Однако точная конструкция сверхзвукового фюзеляжа лайнера неизвестна. «Первый технический» закрывает этот пробел, основываясь на материалах ЦАГИ из открытой базы данных ФИПС.

Инженеры предложили изменить геометрию кормовой части перспективного российского сверхзвукового пассажирского самолёта, чтобы снизить потери на крейсерских режимах и повысить эффективность полёта.

Где возникает потеря эффективности

Судя по материалам из базы ФИПС, специалисты ЦАГИ переработали форму хвостовой части.

В классической схеме корму поднимают вверх для компоновки и взлётно-посадочных режимов, но такой изгиб нарушает структуру потока: крыло отклоняет воздух вниз, а фюзеляж — вверх. Это создаёт неравномерное течение и увеличивает индуктивное сопротивление.

Что изменили в конструкции

В новой конфигурации нижняя часть кормового сечения получает излом в районе оси симметрии. Геометрия остаётся обтекаемой, но поток перераспределяется иначе.

Угол излома варьируется в широком диапазоне, что позволяет адаптировать схему под конкретную компоновку самолёта.

Как это влияет на поток

Такое решение выравнивает взаимодействие потоков от крыла и фюзеляжа и снижает потери энергии на крейсерской скорости.

Испытания модели в аэродинамической трубе показали рост аэродинамического качества на 0,4–0,5. Для гражданской авиации это означает либо снижение расхода топлива, либо увеличение дальности без изменения двигателей.

Читайте ещё материалы по теме:

27 мин назад Новости
Две авиагавани из «Аэропортов Регионов» требуют с подрядчика более 3,1 млрд рублей через суд Подробности претензий к московской компании «Строй Техно Инженеринг» не раскрываются
13:53 Новости
Пластырь, а не панацея: 50-летним Ан-2 отказали в массовом возвращении Доцент МАИ Тяглик: «кукурузники» не устранят полностью проблему региональных перевозок
13:43 Новости
ОДК-Сатурн нашёл способ снизить потери в камере сгорания ГТД Инженеры развели потоки воздуха по двум разным каналам и усилили вихреобразование
13:22 Новости
Россия утвердила первый в мире сверхзвуковой самолёт с «тёмной кабиной» ГосНИИАС: лобового остекления в самолёте не будет
10:47 Новости
Завод самолётов А-100 «Премьер» определился с будущим после ухода в штопор на 5 млрд рублей ТАНТК Бериева намерен продолжать хозяйственную деятельность на фоне огромных убытков
Источники:
ФИПС

Сейчас на главной

Telegram теряет офисы, но не в пользу «Макса»: бизнес выбирает другие корпоративные мессенджеры
53 минуты назад

Компании тестируют альтернативы, но выбирают решения без новостного шума и с упором на безопасность