Прощай, аэродром: в России придумали пассажирский самолёт вертикального взлёта

Воздушное судно с гидроцилиндрами и поворотной схемой крыла сможет перевозить до 40 человек

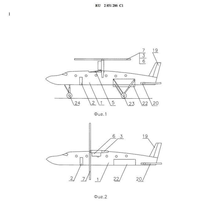
Российский разработчик Сергей Черанёв зарегистрировал патент на пассажирский самолёт вертикального взлёта и посадки (СВВП), рассчитанный на перевозку 30–40 человек. Предложенная конструкция сочетает самолётную скорость и вертолётную свободу выбора площадки, документ опубликовали в базе данных ФИПС.

Концепт пассажирского самолёта вертикального взлёта и посадки
Концепт пассажирского самолёта вертикального взлёта и посадки

Согласно задумке, самолёт получит фюзеляж эллиптического сечения с увеличенной полезной площадью, верхнерасположенное крыло и поворотную схему.

Сами крылья предложили шарнирно закрепить на фюзеляже, они смогут поворачиваться из горизонтального положения в вертикальное с помощью гидроцилиндров. Судя по всему, это ключевое решение позволит машине взлетать и садиться вертикально.

Концепт пассажирского самолёта вертикального взлёта и посадки
Концепт пассажирского самолёта вертикального взлёта и посадки

Двухконтурные турбореактивные двигатели разработчик предложил разместить на выносных пилонах под крылом. Во время взлёта и посадки они будут работать в турбовинтовом режиме и приводить в действие воздушные винты большого диаметра.

В горизонтальном полёте самолёт переходит в турбореактивный режим — винты отключаются, тормозятся и складываются на крыле, прижимаясь электромагнитами.

Такой подход, предположительно, может решить главную проблему классических реактивных СВВП — горячую струю. Воздушное судно может садиться на неподготовленные грунтовые площадки без выжигания почвы и риска пожаров. При этом оно будет способно зависать над точкой и маневрировать вперёд, назад и в стороны, управляя элеронами.

Концепт пассажирского самолёта вертикального взлёта и посадки
Концепт пассажирского самолёта вертикального взлёта и посадки

Проект ориентирован на отдалённые районы Сибири и Дальнего Востока, где нет подходящих аэродромов, объяснил Черанёв. Но также самолёт подойдёт и для региональных пассажирских линий, санитарной авиации, чартерных перевозок и может заинтересовать военных при перевозке небольших групп.

Ранее «Первый технический» писал, что в России разработали комплект для переоборудования серийных самолётов в гибридные летательные аппараты.

Читайте ещё материалы по теме:

09:23 Новости
«ОДК — Пермские моторы» внедряет умную систему планирования для впуска двигателей Автоматизация недельных заданий и переход на нормо-часы ускорят производственный цикл
27 апр 17:18 Новости
Две авиагавани из «Аэропортов Регионов» требуют с подрядчика более 3,1 млрд рублей через суд Подробности претензий к московской компании «Строй Техно Инженеринг» не раскрываются
27 апр 16:40 Статьи
Российский сверхзвуковой лайнер получит новую форму фюзеляжа Изменённая компоновка кормовой части уменьшает потери и повышает эффективность полёта
27 апр 13:53 Новости
Пластырь, а не панацея: 50-летним Ан-2 отказали в массовом возвращении Доцент МАИ Тяглик: «кукурузники» не устранят полностью проблему региональных перевозок
27 апр 13:43 Новости
ОДК-Сатурн нашёл способ снизить потери в камере сгорания ГТД Инженеры развели потоки воздуха по двум разным каналам и усилили вихреобразование
Источники:
ФИПС

Сейчас на главной

Прорыв в промышленности: производство российских 3D-принтеров по металлу запустило НПО «3Д-Интеграция»
59 минут назад

Новые установки с отечественным ПО и высокой локализацией рассчитаны на машиностроение и аэрокосмос