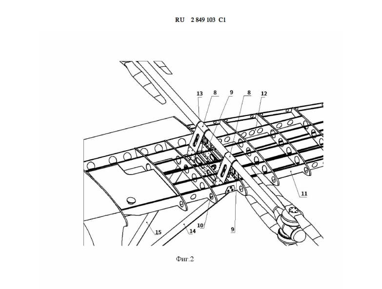
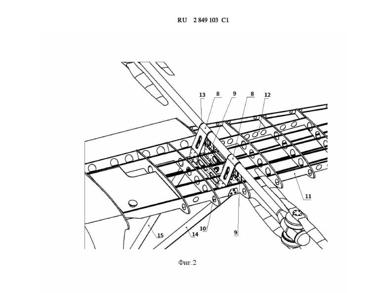
В России разработали и запатентовали комплект для переоборудования лёгкого серийного самолёта в гибридный летательный аппарат с вертикальным взлётом и посадкой (СВВП). Неожиданное решение рассчитано на самолёты с верхним расположением крыла, подкосами и передней рулевой стойкой.
Конструкция позволяет обеспечить вертикальный взлёт, посадку и низкоскоростное маневрирование без глубокой переделки планёра и систем управления, считают авторы идеи.
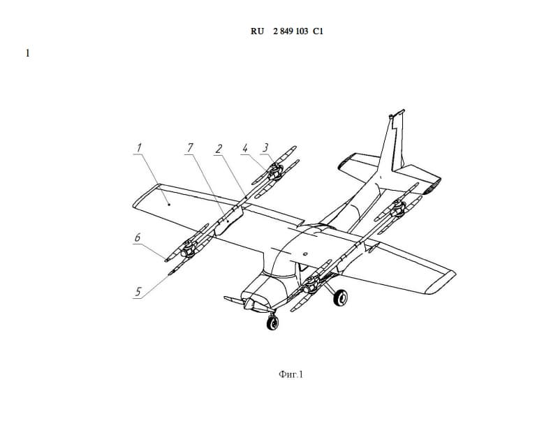
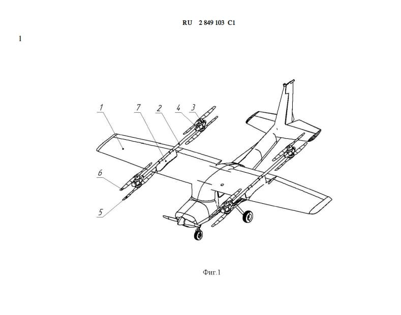
Комплект включает два пилона, которые крепят к верхней поверхности крыла в районе лонжеронов и узлов подкосов. На каждом пилоне размещают по четыре винтомоторные группы с электродвигателями и соосными разнонаправленными воздушными винтами, создающими вертикальную подъёмную силу.
Крепление выполняют через сборочный узел из листового металла с антивибрационными демпферами, что снижает нагрузку на силовой каркас крыла.
Во время вертикального взлёта и посадки подъёмные винты работают от аккумулятора, рассчитанного на 8–10 минут полёта. После набора высоты подключается штатный двигатель самолёта, который обеспечивает горизонтальный полёт.
Подъёмные винты при этом тормозятся в рекуперативном режиме, фиксируются вдоль оси самолёта и снижают лобовое сопротивление. В крейсерском режиме аккумулятор подзаряжается от генератора.
Отметим, что разработка ориентирована именно на переоборудование уже существующих самолётов, а не создание новой платформы «с нуля».
Читайте ещё материалы по теме:
- В России разработали новую РЭМ на базе газотурбинного Т-80 с системой видеонаблюдения
- Уникальный вертолёт без хвостовой балки и редуктора придумали в России
- В России создали подводный дрон в форме торпеды для ВМФ
Сейчас на главной
Алгоритм анализирует 4 млрд товаров на рынке
Проект МВД должен пройти общественное обсуждение
Модуль монтируется за минуты и не требует доработки корпуса
Работать предстоит в филиале корпорации в Ульяновске
В Росстандарте назвали вопрос «дискуссионным»
В центре развернут учебные, испытательные и аналитические мощности для промышленных и агро-дронов
Причины — праздники и сильные снегопады
Заслуженный пилот Юрий Сытник заявил о «беде» с производством комплектующих
Компания нарастила объёмы пригородных перевозок, несмотря на спад в дальнем следовании
Вспышка M1.3 длилась 7 минут, вспышка M3.4 продолжалась 99 минут
На бывшем заводе Nissan начался выпуск LADA Iskra после новогодних каникул
В компании «Туполев» произошло уже семь смен топ-менеджмента за 11 лет
Статьи
-
Почему власти РФ передумали вводить ГОСТ для видеоигр: названы причины
12 янв 2026
-
Почему россияне неохотно оформляют ДТП через европротокол: разбор
12 янв 2026
-
Истребители, подлодки и ракеты: чем Россия усилит армию в 2026 году
12 янв 2026
-
Шасси без импорта: «Гидромаш» завершил локализацию критически важного узла МС-21
12 янв 2026