В России придумали, как управлять вертолётом без рулевого винта

Сжатый воздух выбрасывается через управляемые сопла в хвостовом канале

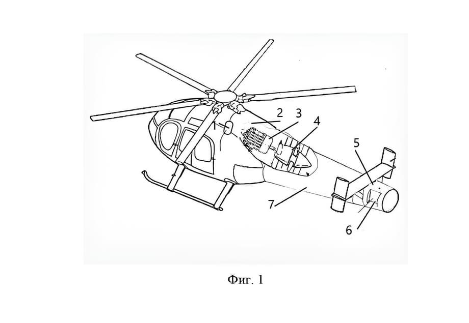
В России зарегистрировали новое изобретение в области вертолётостроения, которое позволяет управлять вертолётом по рысканью без классического рулевого винта. Патент описывает струйную систему компенсации реактивного момента несущего винта с отдельным электроприводом.

Концепт вертолёта без рулевого винта
Концепт вертолёта без рулевого винта

Разработчики придумали систему, которая подсасывает воздух напрямую из атмосферы через воздухозаборники, размещённые на фюзеляже под несущим винтом.

Поток по воздушному каналу поступает к двухступенчатому компрессору, который приводит в действие электродвигатель, установленный в хвостовой части фюзеляжа. Далее сжатый воздух направляется в хвостовой канал и выбрасывается через управляемые сопла.

Ключевая особенность разработки — полное сохранение мощности основного двигателя и несущего винта. Компрессор и сопла работают от отдельного электродвигателя, а не от редуктора, как в традиционных схемах NOTAR. Это снижает нагрузку на силовую установку и повышает надёжность на взлёте, посадке и при висении.

Концепт вертолёта без рулевого винта
Концепт вертолёта без рулевого винта

Распределение воздушного потока между соплами меняется в зависимости от режима полёта. В крейсерском режиме соотношение составляет 0,7 к 0,3, а при выполнении поворота — 0,55 к 0,45, что обеспечивает контролируемое рысканье без резких угловых ускорений.

Это далеко не первая необычная отечественная разработка в области вертолётостроения. Совсем недавно стало известно, что в РФ запатентовали конструкцию вертолёта с турбинным приводом несущего винта.

Читайте ещё материалы по теме:

13:08 Новости
«К счастью, рукописи не горят»: «Яковлев» разрабатывает самолёт вертикального взлёта и посадки Василий Прутковский назвал актуальной работу над СВВП
13:06 Новости
Хакасский инженер придумал первый в мире «антивертолёт» с винтами внутри корпуса Аппарат схемы Ивана Хамина получит диффузоры и автоматическую регулировку тяги
11:49 Новости
Ан-2 с разгоном до 190 км/ч нашли предназначение в охоте за дронами «Военная хроника»: ключевую роль играет малая скорость сваливания
10:46 Новости
Удары птиц разрушают самолёты: авиадетали служат в 14 раз меньше Даже незаметная вмятина может резко сократить срок эксплуатации композитов — и это нельзя увидеть при обычной проверке, предупредили в Пермском политехе
10:00 Новости
Россия ворвётся в топ-5 мирового авиапрома, пока МС-21 и SJ-100 душит сертификация Минпромторг сделал ставку на полную локализацию отрасли
Источники:
ФИПС

Сейчас на главной