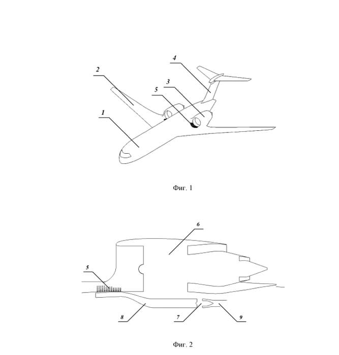
Российские инженеры разработали перспективный магистральный самолёт с уникальной компоновкой гибридной силовой установки. Воздушное судно предложили оснастить двумя мотогондолами с турбореактивными двухконтурными двигателями (ТРДД) и электрическими реактивными двигателями импеллерного типа, установленными сверху в задней части крыла, патент опубликовали в базе данных ФИПС.
Киль выполнен с Т-образным оперением, а все поверхности мотогондол плавно сопряжены с крылом и фюзеляжем — пилоны отсутствуют.
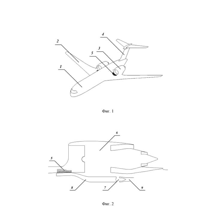
ТРДД размещены в стыке крыла с фюзеляжем, а электрические двигатели расположены под ними в крыльях. На поверхности крыла выполнена перфорация, подводящая воздух к электрическим моторам из пограничного слоя крыла, что исключает отрыв потока и обеспечивает газодинамическую устойчивость силовой установки на крейсерском режиме.
Такая компоновка снижает шум на местности, защищает двигатели от попадания посторонних предметов с ВПП и уменьшает внешнее аэродинамическое сопротивление за счёт исключения пилонов и уменьшения омываемой поверхности.
Применение в заявляемом варианте магистрального самолёта гибридной силовой установки в составе ТРДД и ЭРД позволяет полностью исключить образование отрывного течения в области входа воздухозаборника.
Турбореактивные двигатели применяются для основной тяги и разгона, электрические — для стабилизации потока и снижения шумовых и аэродинамических потерь. Интеграция ТРДД в крыло без пилонов снижает момент на пикирование, создаваемый реактивной силой.
Генеральный директор Центрального института авиационного моторостроения имени П. И. Баранова (ЦИАМ) Андрей Козлов прогнозировал, что первые сверхзвуковые самолёты в России могут появиться не раньше 2040 годов. Также он заявлял, что Россия на три года опережает США в работе над двигателем для сверхзвуковой гражданской авиации.
Читайте ещё материалы по теме:
- «Тёмная кабина», камеры и ИИ: раскрыты детали сверхзвукового самолёта в России
- От чертежей к реальности: Минпромторг инвестирует 13,44 млрд рублей в разработку перспективных самолётов
- Российскому сверхзвуковому самолёту быть: названы главные требования к инновационному лайнеру
Сейчас на главной
Запатентованная технология упрощает производство лёгких и жёстких тонкостенных конструкций
Электромеханическое устройство раскручивает десятки металлических и стеклопластиковых тросов, образуя защитную зону
Новая схема открывает путь для надёжной электроники в экстремальных условиях
Минздрав готовит запуск системы, где будут храниться данные о вакцинации, противопоказаниях и отказах
Совместное предприятие создано для геологоразведки и переработки сырья для высокотехнологичной промышленности
Рестайлинговый внедорожник получил турбодизель, светодиодную оптику и новое мультимедиа
Аппарат позволит проводить исследования на нанометровом уровне
Предприятие запустят в конце 2028 года, проектная мощность — 10,5 тысяч сверхкрупных покрышек в год
Здесь появится крупнейший на Каспии терминал для перевалки зерна
Модульная конструкция дешевле импортных аналогов и адаптирована к российскому климату
Азотный мостик и разные степени окисления расширят возможности радиодиагностики
ИИ проанализировал данные 3007 россиян для теста Торренса