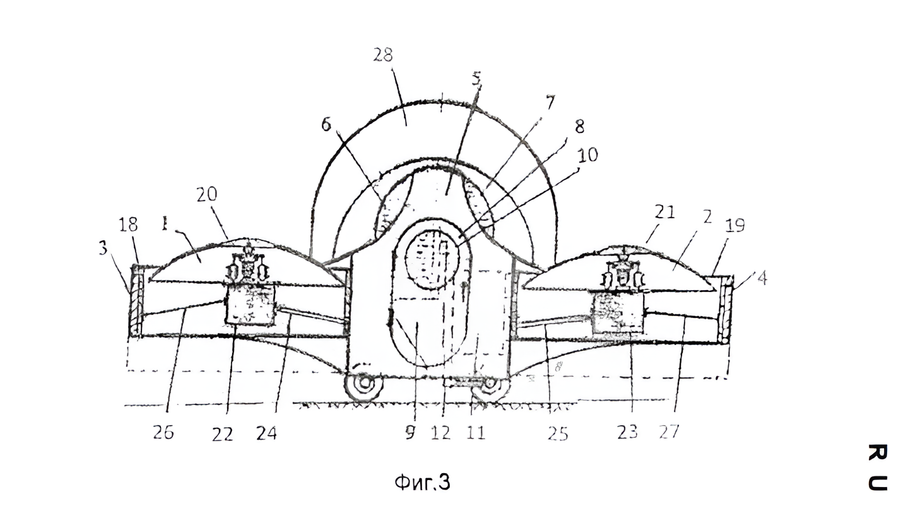
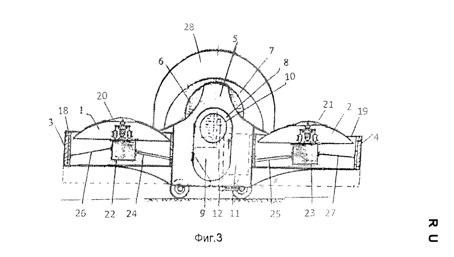
Инженер из Хакасии Иван Хамин разработал концепцию летательного аппарата с вертикальным взлётом и посадкой, в котором несущие винты размещены внутри корпуса. Аппарат выполнен с кабиной и двумя несущими плечами — в передней и задней части.
Внутри них расположены винты в диффузорах. Такая схема позволяет управлять тягой без классического автомата перекоса, изменяя положение винтов внутри каналов.
Ключевая особенность — конструкция лопастей. Каждый винт состоит из двух элементов, формирующих полусферу. При вращении их положение автоматически меняется за счёт центробежных сил, что позволяет адаптировать тягу под режим полёта.
Хамин реализовал привод через систему валов и редукторов, а управление наклоном винтов — с помощью гидравлики. В качестве силовой установки предлагается использовать газотурбинный двигатель в сочетании с электрической машиной, работающей как двигатель и генератор.
По замыслу автора, такая схема может снизить габариты аппарата, улучшить балансировку и расширить возможности применения. В частности, аппарат потенциально способен зависать, садиться на ограниченные площадки и работать вблизи поверхностей.
Читайте ещё материалы по теме:
- Рязанский инженер придумал самолёт с раскрывающимся фюзеляжем и V-образным крылом
- «Байкалы» начнут строить по-новому, хотя УЗГА не выпустил ни одного серийного самолёта
- Сертификацию двигателя ПД-8 с вопросом к тяге опять «сдвинули вправо»