В России придумали подводный дрон в форме торпеды для ВМФ

Инженеры запатентовали модульную конструкцию с двойным винтом

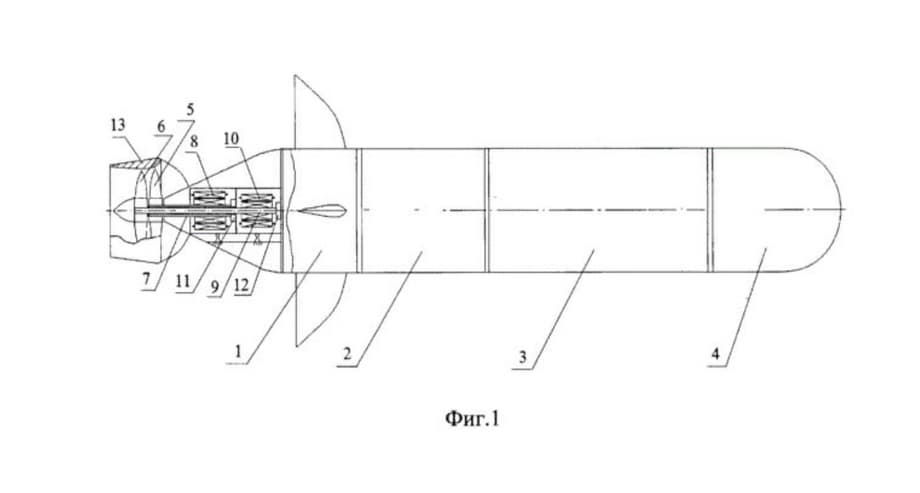
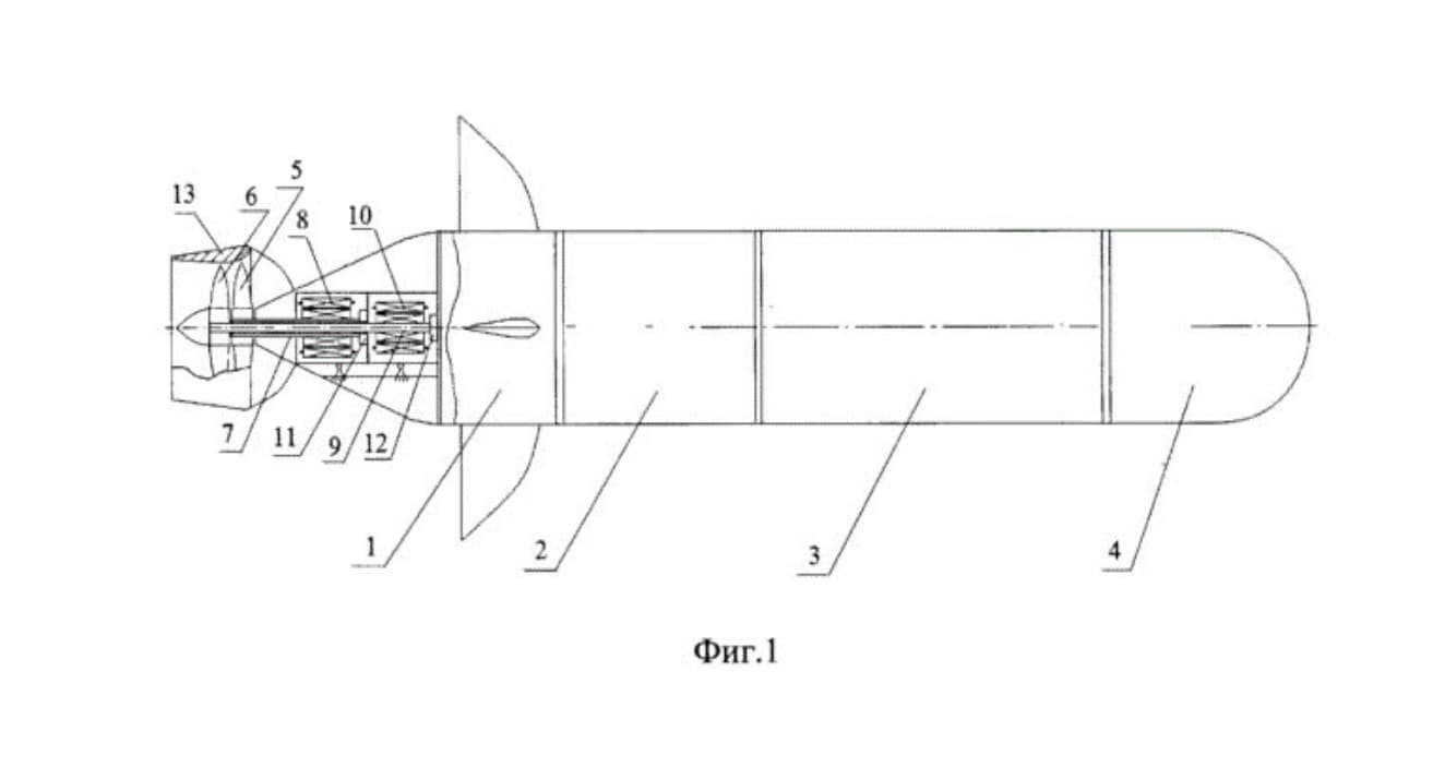
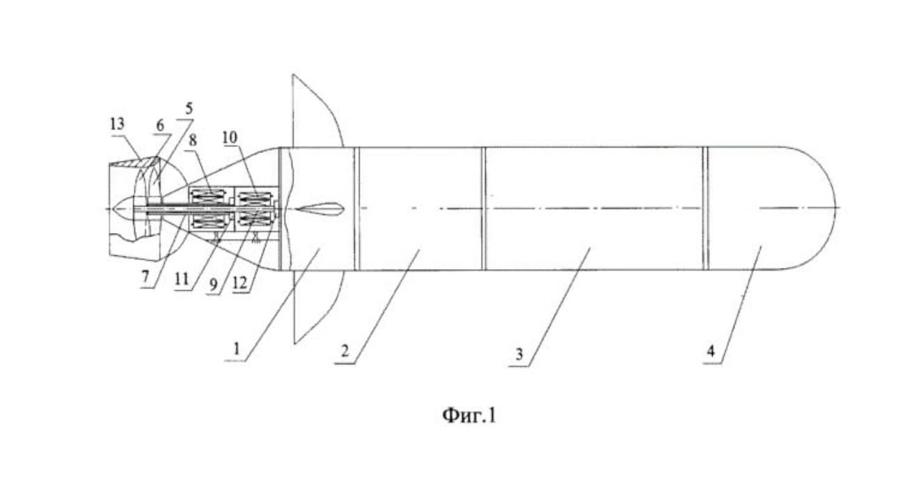
Специалисты Черноморского высшего военно-морского училища имени П. С. Нахимова запатентовали автономный необитаемый подводный аппарат для Военно-морского флота (ВМФ) России. Беспилотный комплекс предложили выполнить в форме торпеды и построить по модульной схеме, документы опубликовали в базе данных ФИПС.

Концепт подводного дрона в форме торпеды для ВМФ
Концепт подводного дрона в форме торпеды для ВМФ

Согласно задумке, аппарат предназначен для использования в судостроении и может применяться при создании подводных беспилотников с улучшенными пропульсивными характеристиками и сниженным энергопотреблением.

Ключевое отличие разработки — гидродинамическая форма корпуса, которая уменьшает сопротивление воды и повышает дальность хода. Технический результат достигается за счёт модульной архитектуры и гидродинамической формы, указано в описании полезной модели.

Модель подводного дрона в форме торпеды для ВМФ
Модель подводного дрона в форме торпеды для ВМФ

Конструкция аппарата включает движительный модуль, модуль управления и связи, батарейный и носовой модули. Такое решение упрощает обслуживание, модернизацию и адаптацию под различные задачи — от разведки до инженерных работ.

Отдельное внимание разработчики уделили движителю. Подводный беспилотник получил два гребных винта противоположного вращения и два последовательно расположенных электродвигателя, что повышает КПД лопастного движителя на 10–12%.

Читайте ещё материалы по теме:

Источники
ФИПС ТАСС

Сейчас на главной

КамАЗ на фоне огромных убытков нашёл зарубежное партнёрство на 600 млн рублей
19 минут назад
КамАЗ на фоне огромных убытков нашёл зарубежное партнёрство на 600 млн рублей

Предприятие подписало контракт о сотрудничестве в автокомпонентах с БАТЭ

Новости Промышленность ПАО «КАМАЗ» ОАО «БАТЭ»
Максим Борисов
За роскошь хотят заставить платить больше: закон о налоге на покупку дорогих автомобилей планируют рассмотреть в ближайшее время
36 минут назад
За роскошь хотят заставить платить больше: закон о налоге на покупку дорогих автомобилей планируют рассмотреть в ближайшее время

Под налогообложение также попадёт покупка элитной недвижимости, воздушного и водного транспорта

Новости Авто Финансы Правительство РФ
Алина Шруб
На Невском ССЗ полным ходом продолжается достройка танкеров «Василий Никитин» и «Инженер-адмирал Котов»
1 час назад
На Невском ССЗ полным ходом продолжается достройка танкеров «Василий Никитин» и «Инженер-адмирал Котов»

Нефтевозы проекта 23130 обеспечат топливом корабли ВМФ России в длительных походах

Новости Транспорт Невский ССЗ
Андрей Рудковский
Прокурор Воронежской области проверил ход сборки Ил-96-300 на ВАСО
1 час назад
Прокурор Воронежской области проверил ход сборки Ил-96-300 на ВАСО

Надзорное ведомство оказывает содействие воронежскому авиазаводу в реализации программ гражданского авиастроения

Новости Авиация ПАО «ВАСО»
Андрей Рудковский
Дорога за 1,6 млрд евро: Россия и Иран 1 апреля подпишут соглашение на строительство ж/д линии Решт - Астара
1 час назад
Дорога за 1,6 млрд евро: Россия и Иран 1 апреля подпишут соглашение на строительство ж/д линии Решт - Астара

Новый маршрут станет частью международного транспортного коридора «Север-Юг»

Новости Транспорт Правительство РФ Правительство Ирана
Алина Шруб
Минцифры: Иностранные спецслужбы имеют доступ к перепискам в Telegram
1 час назад
Минцифры: Иностранные спецслужбы имеют доступ к перепискам в Telegram

Максут Шадаев: Telegram проигнорировал 150 тыс. запросов на удаление противоправного контента

Новости Социальные сети и Мессенджеры Telegram Минцифры РФ
Олеся Михайлова
Проекты за 2,7 млрд рублей: три новых завода по выпуску судовых комплектующих запустят в 2029 году
1 час назад
Проекты за 2,7 млрд рублей: три новых завода по выпуску судовых комплектующих запустят в 2029 году

Новые предприятия получили статус резидента ОЭЗ «Лотос» в 2025 году

Новости Промышленность АО «КИТ судостроение лотос» ООО «Волжский завод газовых генераторов» ООО «Астраханский трубный завод»
Алина Шруб
Китайские кроссоверы вместо немецких Tiguan и Polo: на бывшем российском заводе Volkswagen будут собирать Jeland (Jaecoo), Omoda С5 и C7
1 час назад
Китайские кроссоверы вместо немецких Tiguan и Polo: на бывшем российском заводе Volkswagen будут собирать Jeland (Jaecoo), Omoda С5 и C7

Росстандарт выдал ОТТС на кроссоверы сроком до 16 февраля 2027 года

Новости Авто Промышленность «АГР Холдинг»
Алина Шруб
Редкий шанс увидеть Меркурий: планета будет видна на вечернем небе всего два дня
1 час назад
Редкий шанс увидеть Меркурий: планета будет видна на вечернем небе всего два дня

Астрономы назвали лучшее время для наблюдения самого близкого к Солнцу небесного тела

Новости Наука НГУ
Олеся Михайлова
Комплект обмундирования «Новатор» от «Калашникова» получил высокие оценки бойцов
2 часа назад
Комплект обмундирования «Новатор» от «Калашникова» получил высокие оценки бойцов

В экипировку входят бронешлем «Новатор-БШ», бронежилет «Новатор-БЖ» и рюкзак «Новатор-ТС»

Новости Военная техника АО «Концерн «Калашников»
Юлия Шелковенко
Импортозамещение немецких систем: производство критических деталей станков запустили в Ростехе
2 часа назад
Импортозамещение немецких систем: производство критических деталей станков запустили в Ростехе

Новое оборудование начали тестировать перед выходом в серию

Новости Промышленность ГК «Ростех»
Алина Шруб
ФСБ получила полномочия отключать мобильную связь
2 часа назад
ФСБ получила полномочия отключать мобильную связь

Операторы освобождаются от ответственности перед абонентами при выполнении запросов спецслужбы

Новости Мобильная связь Госдума РФ
Олеся Михайлова