Ключевой элемент для сверхзвукового пассажирского самолёта придумали в России

Надкрыльевой воздухозаборник решит проблему с устойчивостью лайнера

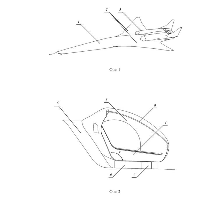
В России запатентовали новый надкрыльевой воздухозаборник для сверхзвукового гражданского самолёта, который повышает эффективность и газодинамическую устойчивость работы силовой установки на крейсерских сверхзвуковых режимах. Разработку опубликовали в базе данных ФИПС.

Ключевая особенность конструкции — фиксированная поверхность торможения в форме двугранного угла с плавным сопряжением плоскостей. В отличие от ранее предложенных решений, воздухозаборник получил каплевидную форму входа, адаптированную под геометрию планера, что обеспечивает плавное сопряжение канала с двигателем и снижает риск отрывных течений.

Разработчики устранили одну из главных проблем надкрыльевой компоновки — попадание толстого пограничного слоя во вход двигателя. Для этого воздухозаборник оснастили развитой системой управления пограничным слоем.

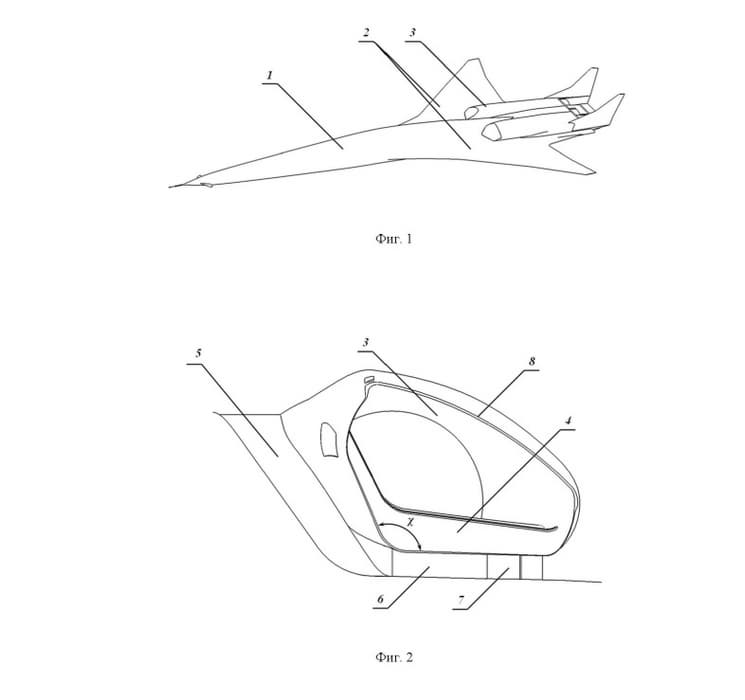
Концепт надкрыльевого воздухозаборника для сверхзвукового самолёта
Концепт надкрыльевого воздухозаборника для сверхзвукового самолёта

Она включает поперечную щель в области горла, подпанельную полость и окна для вывода низкоэнергетичного воздуха во внешний поток со стороны крыла и фюзеляжа.

Отдельное решение конструкторов — подрезка верхней части обечайки, выполненная параллельно фронту замыкающего скачка уплотнения. Это исключает отрыв пограничного слоя на сверхзвуке и снижает потери полного давления перед двигателем.

Новый воздухозаборник обеспечивает коэффициент восстановления полного давления не ниже, чем у классических схем, при этом сохраняет низкую неоднородность потока на входе в двигатель. Это напрямую указывает на устойчивую работу силовой установки при сверхзвуковом полёте.

Концепт надкрыльевого воздухозаборника для сверхзвукового самолёта
Концепт надкрыльевого воздухозаборника для сверхзвукового самолёта

Генеральный директор Центрального института авиационного моторостроения имени П. И. Баранова (ЦИАМ) Андрей Козлов прогнозировал, что первые сверхзвуковые самолёты в России могут появиться не раньше 2040 годов. Также он заявлял, что Россия на три года опережает США в работе над двигателем для сверхзвуковой гражданской авиации.

Авиаэксперт Роман Гусаров заявлял «Первому техническому», что новый сверхзвуковой самолёт могут оснастить двигателем 177С, изначально разработанным для тактический авиации.

Читайте ещё материалы по теме:

Источники
ФИПС

Сейчас на главной

44 минуты назад
Ядерный дата-центр и туннель на Аляску: США и Россия начали вести переговоры о новых проектах

Страны также обговаривают сделки по редкоземельным металлам

Новости Промышленность Правительство РФ Правительство США
Алина Шруб
Фронтальные погрузчики «Нева» начали серийно выпускать на заводе «Красный Октябрь — Нева»
46 минут назад
Фронтальные погрузчики «Нева» начали серийно выпускать на заводе «Красный Октябрь — Нева»

Гарантия производителя — 1,5 тысячи моточасов или 2 года

Новости Транспорт «Красный Октябрь — Нева»
Алина Шруб
Нечастый гость: редкий вертолёт Ми-8МНП ФСБ России засветился в Сети
49 минут назад
Нечастый гость: редкий вертолёт Ми-8МНП ФСБ России засветился в Сети

Винтокрылая машина стоит на вооружении ФСБ России

Новости Военная техника
Андрей Рудковский
В ЦАГИ успешно протестировали воздухозаборник двигателя ТВРС-44 «Ладога»
50 минут назад
В ЦАГИ успешно протестировали воздухозаборник двигателя ТВРС-44 «Ладога»

Испытания позволили оценить параметры воздушного потока на входе в авиамотор

Новости Авиация «ЦАГИ»
Андрей Рудковский
В России на полмиллиона дороже: распродажа кроссоверов Belgee X50 началась в Беларуси
1 час назад
В России на полмиллиона дороже: распродажа кроссоверов Belgee X50 началась в Беларуси

Машину предлагают по цене в 57,9 тысяч BYN — порядка 1,55 млн рублей

Новости Авто Belgee
Алина Шруб
Заводские испытания малого морского танкера «Валентин Рыков» продолжаются в Балтийском море
1 час назад
Заводские испытания малого морского танкера «Валентин Рыков» продолжаются в Балтийском море

Программа апробирования судна проекта 03182 предусматривает проверку манёвренности и скорости

Новости Транспорт
Андрей Рудковский
Самолёт Ил-114-300 заморозят до экстремальных температур: испытания планируются при -50°C
1 час назад
Самолёт Ил-114-300 заморозят до экстремальных температур: испытания планируются при -50°C

Тесты воздушного судна проведут в конце 2026 или в начале 2027 года

Новости Авиация ПАО «ОАК»
Алина Шруб
На «дочку» Уралвагонзавода завели уголовное дело
1 час назад
На «дочку» Уралвагонзавода завели уголовное дело

Волчанский механический завод заинтересовал СК из-за длительной невыплаты зарплаты

Новости Промышленность «Уралвагонзавод» Волчанский механический завод
Максим Борисов
Сертификат на гидродемпферы для ВСМ-поезда ЭВС360 получил ПААЗ
1 час назад
Сертификат на гидродемпферы для ВСМ-поезда ЭВС360 получил ПААЗ

Отечественные компоненты обеспечат комфорт и долговечность на скоростях до 360 км/ч

Новости Транспорт ПААЗ
Андрей Рудковский
В ОАК заявили, что Ил-114-300 «получился»
1 час назад
В ОАК заявили, что Ил-114-300 «получился»

Испытания в Якутии подтвердили характеристики самолёта

Новости Авиация ПАО «ОАК» ОКБ имени Ильюшина
Максим Борисов
Новый статус цифровых активов: закон об изъятии криптовалюты во время уголовного процесса одобрили 18 февраля
1 час назад
Новый статус цифровых активов: закон об изъятии криптовалюты во время уголовного процесса одобрили 18 февраля

Новый закон вступит в силу через 10 дней

Новости Финансы Совет Федерации РФ
Алина Шруб
В Якутске успешно выполнена посадка Ил-114-300 на заснеженную грунтовую полосу
1 час назад
В Якутске успешно выполнена посадка Ил-114-300 на заснеженную грунтовую полосу

Презентация в аэропорту Маган подтвердила готовность российского турбовинтовика к экстремальным условиям Крайнего Севера

Новости Авиация
Андрей Рудковский