Учёные Сколково разработали крыло для беспилотного самолёта нового поколения, где привычные композитные панели заменят сетчатым кессоном. Патент уже зарегистрировали в базе данных ФИПС.
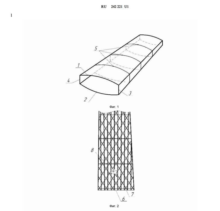
Такой подход делает крыло одновременно легче и прочнее: верхняя и нижняя панели, лонжероны и нервюры собраны в каркасы с продольными, диагональными и поперечными ребрами, рассчитанными на изгибающие и сдвиговые нагрузки.
Диагональные ребра верхней и нижней панели установлены под углом 30–35°, лонжероны и нервюры — 40–50°, что обеспечивает максимальную жёсткость при минимальном весе. По расчётам разработчиков, сетчатый кессон снижает массу крыла на 15% и повышает структурную прочность.
Сборка ведётся на технологической оснастке — сначала каркасы, затем закрепление ребер и обшивка термоусадочной тканью, формование термокомпрессией.
Читайте ещё материалы по теме:
- Инженеры Пермского Политеха переписали акустику авиации: минус 20 дБ без лишнего веса
- Двигатель ПД-35 «похудеет» на 30% благодаря новым композитам
- Токарка не нужна: завихрители двигателя ПД-14 печатают в 3D без брака
Сейчас на главной
Ручной труд слесарей на кировском заводе «Маяк» передадут машинам
К выпуску готовят кроссоверы бренда Jaecoo. Проектная мощность завода — 100 тысяч автомобилей в год
Судно проекта CCa5712LS будут использовать для промысла на Дальнем Востоке
Ультралёгкий полуприцеп массой 10,5 тонны способен перевозить до 26 тонн груза без нарушений весового контроля
Силовой агрегат получит главный документ типа в апреле 2026 года
Стареющий парк и закрытое небо сократили полёты
Власти обеспечивают импортозамещение и технологическую независимость госсектора
Все три самолёта сейчас находятся на ледовых испытаниях в Архангельске
Шестиосная модель 11-2151 — единственная в России конструкция с двусторонним открыванием крыши для перевозки негабарита
Механическое наведение практически не отказывает
Минэкологии Башкирии предписало ОДК-УМПО устранить нарушения
БПЛА оснащаются камерой высокого разрешения и системой стабилизации