Российская компания «Гаруда Аэро» разработала новый модульный вертолёт, сочетающий принципы классической винтокрылой машины и квадрокоптера. Изобретение относится к беспилотным и пилотируемым летательным аппаратам вертолётного типа.
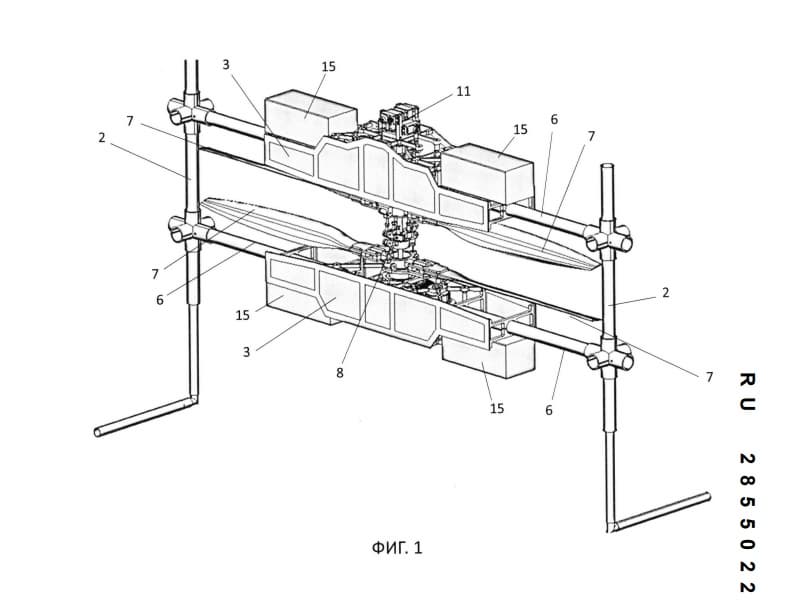
В основе конструкции — корпус из двух прямоугольных рам, расположенных друг над другом и соединённых вертикальными стойками. В центре каждой рамы предусмотрены проёмы для соосных валов несущих винтов.
Аппарат использует два соосных винта с отдельными приводами. Каждый привод включает бесколлекторный электродвигатель постоянного тока, редуктор и два блока питания, размещённые симметрично. Для балансировки нижний привод развёрнут на 180 градусов по вертикали и горизонтали относительно верхнего.
Управление полётом обеспечивает общий автомат перекоса, размещённый между верхними и нижними лопастями. Система отвечает за коллективный шаг, тангаж и крен. Дополнительно реализовано дублирование элементов управления для повышения надёжности.
Схема упрощает сборку и обслуживание аппарата. Каждый модуль представляет собой автономный летательный блок, который можно объединять с другими по вертикали и горизонтали для увеличения грузоподъёмности.
Испытания показали, что один модуль способен перевозить до 20 кг полезной нагрузки с продолжительностью полёта до одного часа. Максимальная грузоподъёмность может достигать 40 кг при сокращении времени работы до 7–10 мин.
Читайте ещё материалы по теме:
- Управление огнём вне машины: в России запатентовали новый модуль для бронетехники
- Ключевой элемент для сверхзвукового пассажирского самолёта придумали в России
- В России придумали истребитель с двойным крылом для короткого взлёта и посадки
Сейчас на главной
Публикация о поддержке извлечения данных в криминалистическом ПО названа фейком
Полёты добавили на фоне роста российского турпотока во Вьетнам на 197% за год
Банки и МФО будут передавать данные в бюро кредитных историй, а те — направлять информацию в личный кабинет заёмщика
Технику тестировали на реальных городских маршрутах при сибирских морозах
СберМобайл сообщает об обвале трафика мессенджера Telegram на 85% за неделю
Винтовка сохраняет кучность боя при −20°C и применяется с отечественными патронами .22LR
Параллельно растут продажи MP3-плееров: оборот вырос на 25% за январь — март, средний чек — на 13%
Институт гастрономии СФУ и бренд-шеф Bellini создадут авторскую еду для космонавтов к 65-летию полёта Гагарина
Бури мощностью G2-G3 ожидаются уже завтра
«Российские космические системы» представили итоги первых лет Десятилетия науки на выставке «Архимед-2026»
Под зонтичный бренд войдут фургоны Largus, снегоболотоход на базе Niva, спецавтомобили «Промтех» и метановые версии Largus и Vesta
Индустриальный партнёр — «Автодом», все компоненты от пенополиуретана до нагревательных элементов — российские