В России придумали истребитель с двойным крылом для короткого взлёта и посадки

Тормозные парашюты не понадобятся

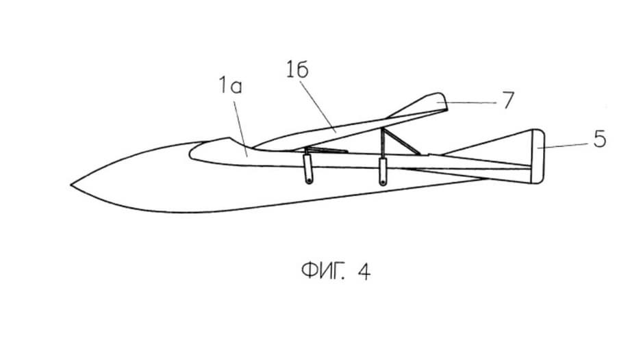
В России запатентовали необычную конструкцию лёгкого истребителя, которая решает одну из главных проблем боевой авиации — снижение взлётно-посадочной скорости без потери крейсерских характеристик. Речь идёт о самолёте, выполненном по схеме «летающее крыло» с вертикально разъёмным крылом, способным менять конфигурацию прямо в полёте.

Ключевая особенность разработки — двухчастное крыло, состоящее из нижней и верхней секций. В крейсерском режиме они объединяются в единый силовой элемент и работают как обычное крыло, не ухудшая скоростные качества. Перед взлётом и посадкой верхняя часть поднимается на подвижных кронштейнах и может менять угол атаки.

При посадке верхняя секция переводится в положительный угол атаки, резко увеличивая подъёмную силу. Это позволяет снижать посадочную скорость и сокращать длину ВПП. На этапе пробега верхнюю часть крыла переводят в отрицательный угол — самолёт интенсивно тормозит аэродинамически, без применения тормозных парашютов.

Концепт истребителя с двойным крылом для короткого взлёта и посадки
Концепт истребителя с двойным крылом для короткого взлёта и посадки

Для устойчивости в поднятом положении верхняя часть крыла оснащена дополнительными килями, подавляющими колебания. Нижняя секция получила законцовки, отклонённые на 45 градусов, что повышает управляемость и манёвренность.

Отдельно решена проблема жёсткой посадки: колёса шасси оснащаются воздушными турбинами, которые раскручивают их встречным потоком ещё до касания полосы. Это снижает ударную нагрузку и износ стоек.

Концепт истребителя с двойным крылом для короткого взлёта и посадки
Концепт истребителя с двойным крылом для короткого взлёта и посадки

Самолёт предполагается оснащать реактивными двигателями с управляемым вектором тяги и эжекторами, повышающими КПД. В результате разработчики получили концепцию истребителя, способного работать с коротких и неподготовленных аэродромов, сохраняя высокую скорость и манёвренность.

Читайте ещё материалы по теме:

Источники
ФИПС

Сейчас на главной

Новейший станок для шлифовки лопаток двигателей ПД-8 запустили на «ОДК-Сатурн»
4 минуты назад
Новейший станок для шлифовки лопаток двигателей ПД-8 запустили на «ОДК-Сатурн»

Комплекс ускоряет производство деталей газотурбинных агрегатов

Новости Промышленность «ОДК-Сатурн» АО «ОДК»
Максим Борисов
Ударный БПЛА «Герань» впервые применили в качестве носителя дронов-камикадзе
17 минут назад
Ударный БПЛА «Герань» впервые применили в качестве носителя дронов-камикадзе

Такая схема увеличивает дальность применения малых беспилотников

Новости Военная техника
Максим Борисов
Инженеры Военно-инженерной академии имени Д. М. Карбышева разработали робот-сапёр для быстрого разминирования
28 минут назад
Инженеры Военно-инженерной академии имени Д. М. Карбышева разработали робот-сапёр для быстрого разминирования

Платформа с многониточным удлинённым зарядом создаёт проходы в минных полях

Новости Военная техника
Максим Борисов
Эксперт объяснил, зачем регионам нужен специфичный Ил-114-300
1 час назад
Эксперт объяснил, зачем регионам нужен специфичный Ил-114-300

Самолёт закроет нишу местных перевозок и улучшит транспортную доступность

Новости Авиация
Максим Борисов
Стратосферный дрон-связист «Аргус» как аналог Starlink протестируют в марте
3 часа назад
Стратосферный дрон-связист «Аргус» как аналог Starlink протестируют в марте

Аппарат сможет работать в качестве воздушного оператора высокоскоростной связи

Новости Наука
Максим Борисов
Defence blog: Производство ствольных артиллерийских систем нарастили на заводе в Екатеринбурге
3 часа назад
Defence blog: Производство ствольных артиллерийских систем нарастили на заводе в Екатеринбурге

Предприятие получило не менее 22 зарубежных станков

Статьи Военная техника АО «Концерн «Калашников»
Юлия Шелковенко
Спасут суда в Балтике: атомный ледокол «Сибирь» и дизельный «Мурманск» выдвинулись на помощь
3 часа назад
Спасут суда в Балтике: атомный ледокол «Сибирь» и дизельный «Мурманск» выдвинулись на помощь

Судно проекта 22220 пребудет в Санкт-Петербург 18 февраля

Новости Транспорт Минстрой РФ
Алина Шруб
The National Interest заявило о культовом статусе танка Т-90С
3 часа назад
The National Interest заявило о культовом статусе танка Т-90С

Военный эксперт Сучиу: Индия получила российские технологии для локализации производства «Бхишма»

Статьи Военная техника ГК «Ростех»
Юлия Шелковенко
России потребуется больше кораблей для ВМФ
4 часа назад
России потребуется больше кораблей для ВМФ

Требования заложат в обновлённую программу развития флота до 2050 года

Новости Военная техника ВМФ РФ
Максим Борисов
The National Interest назвало российское оружие, которое вызывает головную боль у НАТО
5 часов назад
The National Interest назвало российское оружие, которое вызывает головную боль у НАТО

Военный эксперт Касс: ЗРК С-400 «Триумф» лишит противника превосходства в воздухе

Статьи Военная техника ВКО «Алмаз-Антей»
Юлия Шелковенко
Корвет «Стойкий» прибыл к берегам Ирана для совместных манёвров
5 часов назад
Корвет «Стойкий» прибыл к берегам Ирана для совместных манёвров

Боевой корабль проекта 20380 принял участие в учении в Оманском заливе

Новости Военная техника
Максим Борисов
Банк России предложил создать реестр финансовых инфлюенсеров
17 февр. 2026 г., 19:54:22
Банк России предложил создать реестр финансовых инфлюенсеров

Блогеров-распространителей информации предлагают помечать

Новости Информационная безопасность Социальные сети и Мессенджеры Telegram Банк России
Надежда Астам