Фантастика наяву: российский сверхзвуковой самолёт удерживается на носителе вакуумом

Крепление размещается на верхней поверхности и снижает аэродинамическое сопротивление

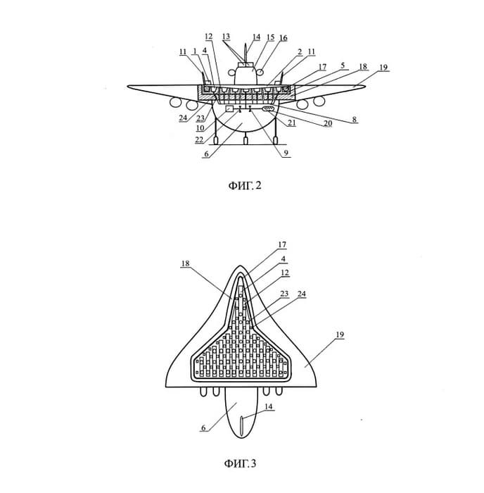
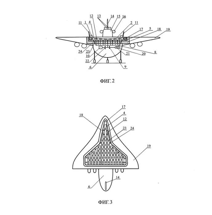
В России зарегистрировали патент на устройство крепления сверхзвукового пассажирского самолёта к самолёту-носителю. Разработка предназначена для совместного высокоскоростного полёта двух летательных аппаратов с последующим отделением сверхзвукового самолёта в воздухе.

По задумке авторов, устройство выполнят в виде стартовой платформы на верхней поверхности самолёта-носителя.

На платформе размещён участок с гофрированной и перфорированной поверхностью, который контактирует с нижней поверхностью сверхзвукового пассажирского самолёта.

По замкнутому контуру участка установлен уплотнитель, обеспечивающий герметичность зоны крепления.

Концепт крепления сверхзвукового пассажирского самолёта к самолёту-носителю
Концепт крепления сверхзвукового пассажирского самолёта к самолёту-носителю

Отверстия перфорированной поверхности соединены трубопроводами с вакуумной системой и системой подачи газа из ёмкости, расположенной на борту самолёта-носителя.

Для удержания пассажирского самолёта на платформе в процессе создания вакуума используется принцип разности давлений. Перед тем как самолёт отделится, вакуум закрывается, а газ поступает под его нижнюю часть. Это создаёт воздушную подушку, которая предотвращает механическое трение.

Концепт крепления сверхзвукового пассажирского самолёта к самолёту-носителю
Концепт крепления сверхзвукового пассажирского самолёта к самолёту-носителю

В патенте подчёркивается, что предложенная схема крепления не требует установки вакуумных камер на самом пассажирском самолёте и не использует внешние стойки или механические замки.

Это снижает аэродинамическое сопротивление конструкции и повышает аэродинамическую устойчивость при совместном полёте на высоких скоростях.

Генеральный директор Центрального института авиационного моторостроения имени П. И. Баранова (ЦИАМ) Андрей Козлов прогнозировал, что первые сверхзвуковые самолёты в России могут появиться не раньше 2040 годов. Также он заявлял, что Россия на три года опережает США в работе над двигателем для сверхзвуковой гражданской авиации.

Читайте ещё материалы по теме:

Источники
ФИПС

Сейчас на главной

46 минут назад
Ядерный дата-центр и туннель на Аляску: США и Россия начали вести переговоры о новых проектах

Страны также обговаривают сделки по редкоземельным металлам

Новости Промышленность Правительство РФ Правительство США
Алина Шруб
Фронтальные погрузчики «Нева» начали серийно выпускать на заводе «Красный Октябрь — Нева»
48 минут назад
Фронтальные погрузчики «Нева» начали серийно выпускать на заводе «Красный Октябрь — Нева»

Гарантия производителя — 1,5 тысячи моточасов или 2 года

Новости Транспорт «Красный Октябрь — Нева»
Алина Шруб
Нечастый гость: редкий вертолёт Ми-8МНП ФСБ России засветился в Сети
51 минуту назад
Нечастый гость: редкий вертолёт Ми-8МНП ФСБ России засветился в Сети

Винтокрылая машина стоит на вооружении ФСБ России

Новости Военная техника
Андрей Рудковский
В ЦАГИ успешно протестировали воздухозаборник двигателя ТВРС-44 «Ладога»
52 минуты назад
В ЦАГИ успешно протестировали воздухозаборник двигателя ТВРС-44 «Ладога»

Испытания позволили оценить параметры воздушного потока на входе в авиамотор

Новости Авиация «ЦАГИ»
Андрей Рудковский
В России на полмиллиона дороже: распродажа кроссоверов Belgee X50 началась в Беларуси
1 час назад
В России на полмиллиона дороже: распродажа кроссоверов Belgee X50 началась в Беларуси

Машину предлагают по цене в 57,9 тысяч BYN — порядка 1,55 млн рублей

Новости Авто Belgee
Алина Шруб
Заводские испытания малого морского танкера «Валентин Рыков» продолжаются в Балтийском море
1 час назад
Заводские испытания малого морского танкера «Валентин Рыков» продолжаются в Балтийском море

Программа апробирования судна проекта 03182 предусматривает проверку манёвренности и скорости

Новости Транспорт
Андрей Рудковский
Самолёт Ил-114-300 заморозят до экстремальных температур: испытания планируются при -50°C
1 час назад
Самолёт Ил-114-300 заморозят до экстремальных температур: испытания планируются при -50°C

Тесты воздушного судна проведут в конце 2026 или в начале 2027 года

Новости Авиация ПАО «ОАК»
Алина Шруб
На «дочку» Уралвагонзавода завели уголовное дело
1 час назад
На «дочку» Уралвагонзавода завели уголовное дело

Волчанский механический завод заинтересовал СК из-за длительной невыплаты зарплаты

Новости Промышленность «Уралвагонзавод» Волчанский механический завод
Максим Борисов
Сертификат на гидродемпферы для ВСМ-поезда ЭВС360 получил ПААЗ
1 час назад
Сертификат на гидродемпферы для ВСМ-поезда ЭВС360 получил ПААЗ

Отечественные компоненты обеспечат комфорт и долговечность на скоростях до 360 км/ч

Новости Транспорт ПААЗ
Андрей Рудковский
В ОАК заявили, что Ил-114-300 «получился»
1 час назад
В ОАК заявили, что Ил-114-300 «получился»

Испытания в Якутии подтвердили характеристики самолёта

Новости Авиация ПАО «ОАК» ОКБ имени Ильюшина
Максим Борисов
Новый статус цифровых активов: закон об изъятии криптовалюты во время уголовного процесса одобрили 18 февраля
1 час назад
Новый статус цифровых активов: закон об изъятии криптовалюты во время уголовного процесса одобрили 18 февраля

Новый закон вступит в силу через 10 дней

Новости Финансы Совет Федерации РФ
Алина Шруб
В Якутске успешно выполнена посадка Ил-114-300 на заснеженную грунтовую полосу
1 час назад
В Якутске успешно выполнена посадка Ил-114-300 на заснеженную грунтовую полосу

Презентация в аэропорту Маган подтвердила готовность российского турбовинтовика к экстремальным условиям Крайнего Севера

Новости Авиация
Андрей Рудковский