Уникальный дрон-перехватчик с внутренним вооружением придумали в России

Разработчик из Санкт-Петербурга разместил стрелковые комплексы в носовой и хвостовой частях

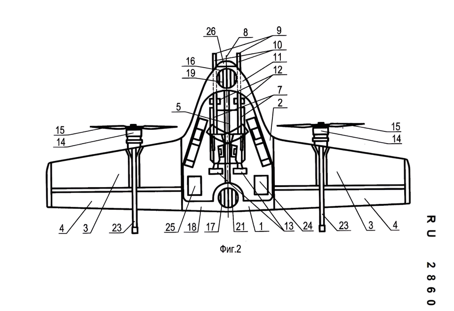
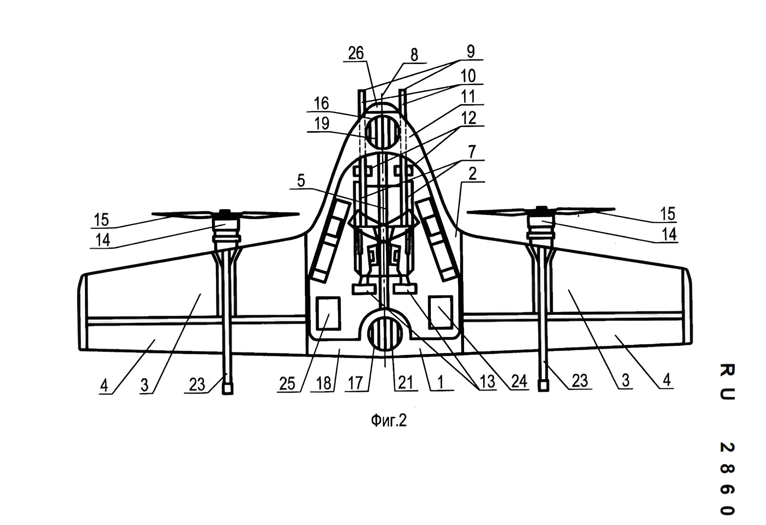
Инженер из Санкт-Петербурга Олег Арефин разработал схему необычного дрона-перехватчика с фюзеляжем и крылом, внутри которого размещены два стрелковых комплекса. Аппарат оснащён двигателями с воздушными винтами на крыльях, обеспечивающими горизонтальный крейсерский полёт.

Дополнительно в носовой и хвостовой частях установлены два канальных вентилятора. Они работают перпендикулярно плоскости крыла и закрываются регулируемыми жалюзи. Такая схема позволяет формировать вертикальную тягу, включая режим зависания и точного позиционирования в воздухе.

Система управления объединяет автопилот и модуль конечного наведения. Это обеспечивает захват, сопровождение и поражение воздушной цели на финальном участке траектории.

Ключевая особенность конструкции — гибридная аэродинамическая схема. Самолётный режим используется для высокоскоростного перехвата, а мультикоптерный — для точного наведения на цель в плотной воздушной обстановке.

Размещение вооружения внутри фюзеляжа снижает аэродинамические потери и минимизирует влияние отдачи на устойчивость полёта.

Дроны-перехватчики широко развиваются в России. Однако в основном они основаны на кинетическом принципе, когда беспилотник просто врезается в воздушную цель на полной скорости.

Читайте ещё материалы по теме:

43 мин назад Новости
Зенитная ракета снайперски поразила вражеский дрон-камикадзе FP-1 в небе Подмосковья Эпичные кадры с попаданием опубликовали очевидцы
16:14 Новости
ТОС-2 вышла на охоту: Минобороны показало, как «Тосочка» сжигает позиции врага Колёсный наследник «Солнцепека» бьёт на 18 км и уходит из-под удара до прилёта ответных снарядов
13:32 Новости
Кто виноват в дырах в обороне? Производитель дрона «Архангел» рассказал о халатности в защите от БПЛА Глава проекта, выпускающего перехватчики, уличил бизнесменов в отговорках и бездействии
11:35 Новости
Дрон «КВН» на катушке сжёг вражеский катер с четырьмя РПГ в Чёрном море Оптоволоконный «Князь Вандал Новгородский», неуязвимый для РЭБ, поразил морскую цель
11:13 Новости
«Ланцет» с помощью ИИ разнёс западную технику, включая шведско-британский BvS 10 «Викинг» Интеллектуальная система ИРРА позволяет боеприпасу сохранять точность даже при радиоэлектронном противодействии
Источники:
ФИПС

Сейчас на главной