НИЦ Жуковского создал газотурбинный двигатель с саморегулируемым охлаждением без электроники

Компактный ГТД получил адаптивную систему регулирования температуры

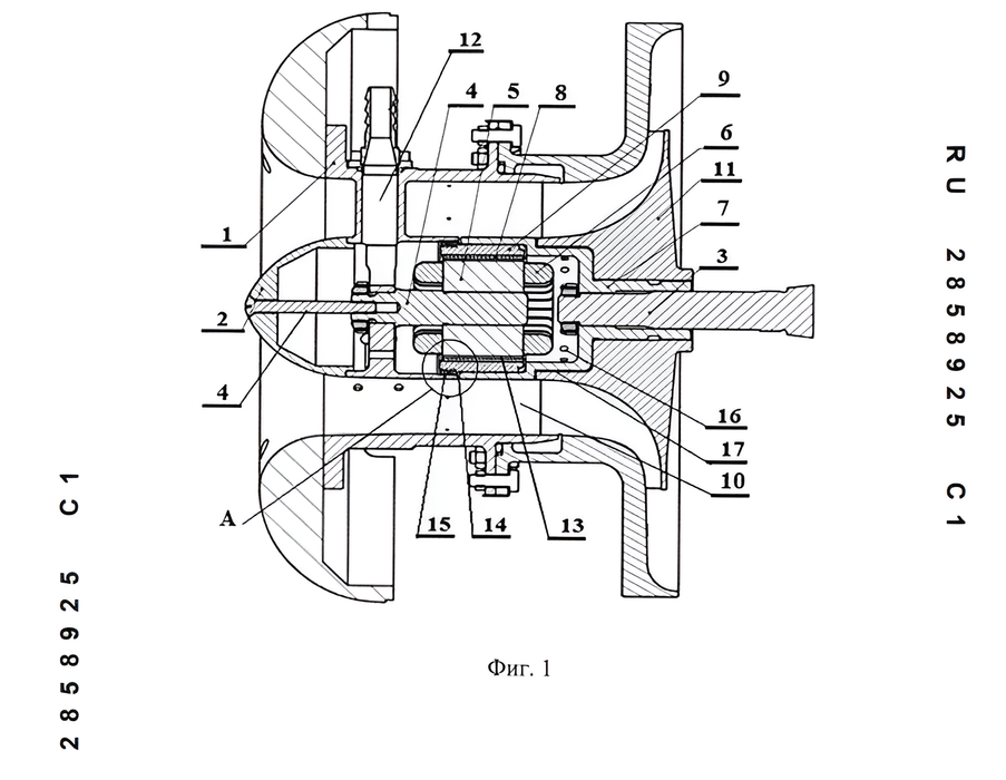
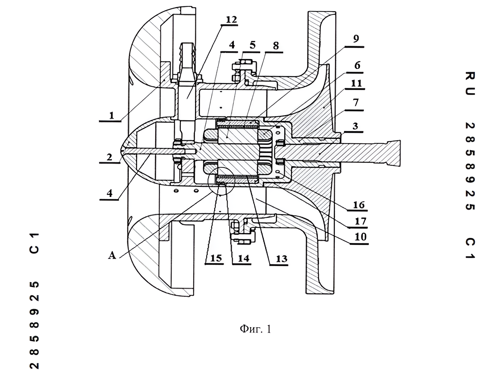
Инженеры НИЦ имени Жуковского разработали малоразмерный газотурбинный двигатель с адаптивной системой охлаждения стартер-генератора, которая автоматически регулирует тепловой режим без применения электроники. Разработка зарегистрирована в базе ФИПС.

В основе конструкции — переработанная компоновка стартер-генератора с «стаканообразным» ротором и концентрическим статором, размещённым в центральном обтекателе. Такое решение позволило сократить осевые размеры и изменить структуру воздушных потоков охлаждения.

Сжатый воздух от компрессора предварительно охлаждается до температуры ниже 100 °C и поступает в центральную полость через радиальные стойки корпуса.

Далее поток разделяется на два контура. Первый охлаждает переднюю часть обмоток статора через осевой зазор с лабиринтным уплотнением. Второй направляется в заднюю зону, где проходит через кольцевые и радиальные каналы, обеспечивая охлаждение магнитов и магнитопровода ротора.

Ключевая особенность разработки — саморегулируемое охлаждение. При изменении оборотов двигателя автоматически меняются перепады давления и геометрия зазоров, за счёт чего перераспределяется расход воздуха без внешних систем управления.

Это позволяет снизить риск локального перегрева и выровнять температурное поле по всей длине узла.

Читайте ещё материалы по теме:

14:42 Новости
Метка для удара: российский инженер научил дроны метать GPS-маячки с помощью мотора Новое устройство повысит точность сброса полезной нагрузки с беспилотников
13:06 Новости
Двигатели отдельно, винт отдельно: ОДК объяснила, зачем вертолёту редуктор на 15 тысяч оборотов Узел понижает скорость и раздаёт мощность на вспомогательные агрегаты
15 мая 17:07 Новости
Испытания Ил-114-300 затянутся ещё на несколько месяцев Турбовинтовое судно подтвердило надёжность работы в арктической зоне
15 мая 16:07 Новости
«Приговор для 300 пассажиров»: заслуженный пилот оценил отказ от второго члена экипажа самолёта Олег Смирнов: потеря командира судна в полёте может обернуться катастрофой
15 мая 15:08 Новости
«Аэрофлот» тратит миллиарды на Airbus и Boeing, не дождавшись МС-21 Расходы авиакомпании на поддержание авиапарка в 2026 году удвоились
Источники:
ФИПС

Сейчас на главной

Tsarevna, «Берсерк» и «Командиры бездорожья»: 30 отечественных игр представят в Москве
16 мая 2026 г., 13:31:06

Посетители «Кей-поп Киберсубботы» смогут протестировать хорроры, стратегии и славянское фэнтези до официального релиза