Корабль ныряет при пуске: в России придумали новый способ старта крылатых ракет

Новая схема позволяет использовать даже тяжёлые боеприпасы без увеличения размеров носителя

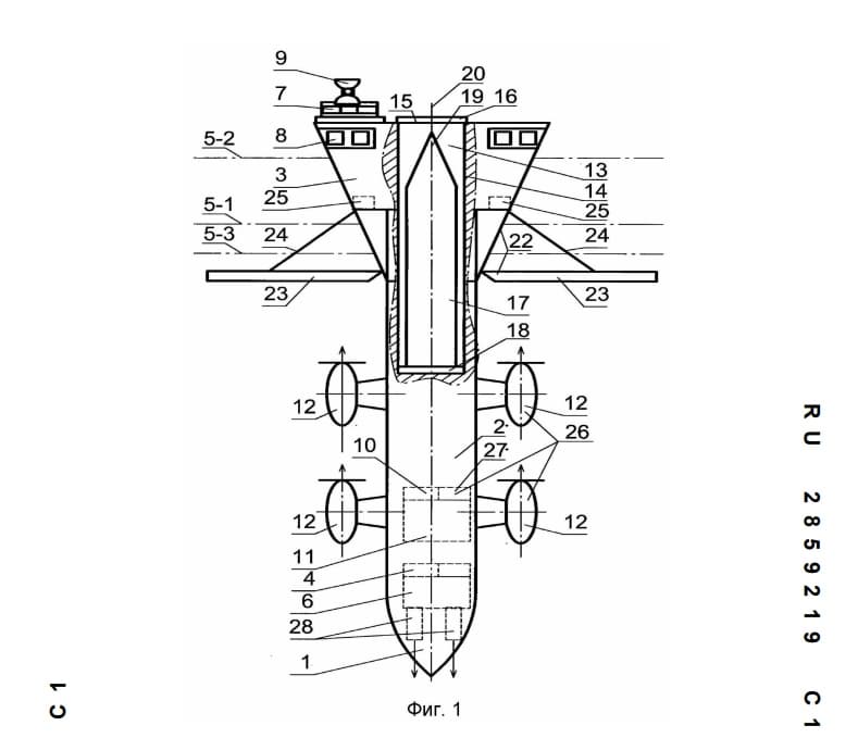
Петербургский инженер Олег Арефин разработал необычную схему запуска ракет с надводного корабля. При старте корпус судна частично погружается в воду, компенсируя импульс и стабилизируя полёт ракеты.

В классических установках основная нагрузка от пуска передаётся корпусу, из-за чего требуется крупное водоизмещение. Новая схема решает проблему за счёт гидродинамики: часть энергии уходит в движение корпуса вниз.

Перед пуском корабль переводится в почти вертикальное положение. В момент старта он уходит в воду, действуя как демпфер. Дополнительно используются водомёты и винторулевые устройства, которые создают направленную тягу и удерживают устойчивость.

По описанию патента, такой подход позволяет запускать тяжёлые ракеты даже при волнении моря, не увеличивая размеры носителя.

Проект также допускает размещение нескольких пусковых установок и сборку многоступенчатых ракет прямо на борту. Это упрощает подготовку и даёт гибкость в выборе конфигурации.

В результате надводные корабли могут получить возможности, которые раньше требовали подводных носителей, — без перехода к более сложным и дорогим решениям.

Читать ещё материалы по теме:

10 мин назад Новости
Комплекс ZALA уничтожил французскую самоходную гаубицу Caesar Разведывательный беспилотник Z-16 работал в паре с барражирующим боеприпасом «Ланцет»
12:14 Новости
Неуязвимый для РЭБ перехватчик «Ёлка» стал криптонитом для дронов-разведчиков Военные подтвердили эффективность новинки без боевой части
09:34 Статьи
БМП-1: как советские инженеры перевернули мир бронетехники 60 лет назад 14 апреля 1966 года армия СССР получила революционную боевую машину того времени
09:03 Новости
Гарантия уничтожения: технологию группового удара дронами Supercam испытали в Ростехе Оператор сможет управлять сразу 10 барражирующими боеприпасами
08:58 Новости
Почти 40 лет в строю: советский тральщик «БТ-245» уничтожил учебные якорные и донные мины в заливе Петра Великого Экипаж судна проекта 1265 «Яхонт» Тихоокеанского флота отразил атаки БПЛА с помощью АК-230М
Источники:
ФИПС

Сейчас на главной