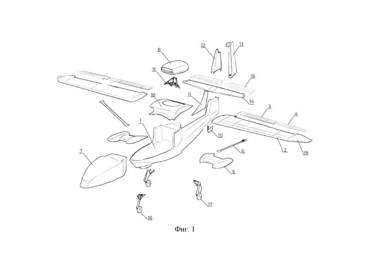
В России разработали новое тяжёлое беспилотное воздушное судно самолётного типа-амфибию для автономных грузоперевозок. Аппарат рассчитан на работу с суши и воды и ориентирован на доставку грузов, мониторинг и спасательные операции, автор патента — Алексей Никифоров.
Инженер предложил выполнить конструкцию по схеме высокоплана с лодочным фюзеляжем, убираемым шасси и поплавками на пилонах.
Однодвигательная силовая установка с толкающим винтом разместится над крылом. Законцовки крыла отогнут вниз для устойчивости на малых скоростях и при посадке на воду. Грузовой модуль съёмный, объём — до 5,5 м³, что упрощает погрузку.
Заявленные характеристики — полезная нагрузка до 700 кг, дальность — до 2200 км, продолжительность полёта — до 11 часов, крейсерская скорость около 185 км/ч. Практический потолок — 3000 м. Разработка получит возможность автономной навигации без GPS/ГЛОНАСС, что расширяет применение в удалённых районах.
Аппарат должен выполнять взлёт и посадку даже без аэродромной инфраструктуры, включая приводнение. Это позволяет использовать платформу для логистики, патрулирования и аварийных задач в труднодоступных зонах.
Читайте ещё материалы по теме:
- Новый перехватчик дронов «Булавка» со скоростью 270 км/ч разработали в России
- «Умную» лопасть вертолётного винта с изменяемой геометрией разработали в Пермском политехе
- В России готовят гигантский заказ на «летающие Т-34» — дроны «Упырь»
Сейчас на главной
Здесь появится крупнейший на Каспии терминал для перевалки зерна
Модульная конструкция дешевле импортных аналогов и адаптирована к российскому климату
Азотный мостик и разные степени окисления расширят возможности радиодиагностики
ИИ проанализировал данные 3007 россиян для теста Торренса
Кроссовер выдержал нагрузку в 9 тонн на ремни заднего ряда и показал 30-процентный запас прочности кузова
Первый пуск планировался на 27 марта, затем на 4 апреля
Обозреватель «За рулём»: «Пятидесятка» может привлечь водителей Toyota Camry
Инженеры готовят версию «Маяк-3» для серийного производства
Прибор впервые позволит корректировать нормы предельно допустимых напряжений прямо на рабочем месте
Парящие платформы поднимаются на высоту 15–40 км и не требуют дорогостоящих космических запусков
Бизнесу грозят исключением из белых списков и лишением IT-льгот за отказ
Корпоративные клиенты смогут получать выписки в едином интерфейсе на основе API ЦБ РФ