«Умную» лопасть вертолётного винта с изменяемой геометрией разработали в Пермском политехе

Новая схема даёт большее рабочее смещение в сравнении с традиционными решениями

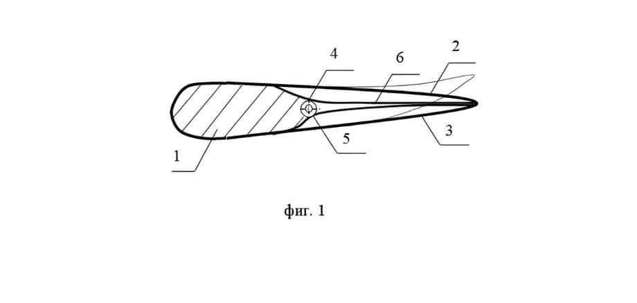
Специалисты Пермского политехнического университета разработали новую лопасть воздушного винта с управляемой геометрией профиля. Передовое решение позволит менять положение закрылка в полёте и расширять диапазон его отклонений.

Конструкция включает аэродинамический профиль с подвижным закрылком и пьезоэлектрическим приводом кручения. Его выполнили в виде полого цилиндра со спиральными электродами, которые при подаче напряжения вызывают контролируемый поворот закрылка.

Такая схема даёт большее рабочее смещение по сравнению с традиционными решениями.

Разработчики подчёркивают, что увеличение углов отклонения позволяет точнее подбирать форму задней кромки лопасти под режим полёта. Это снижает вибрации и шум, а также улучшает аэродинамическую эффективность.

Технология ориентирована на вертолётные и винтовые летательные аппараты, где требуется быстрая адаптация геометрии лопасти. Моделирование уже подтвердило стабильность работы механизма и расширение диапазона управляемых поворотов закрылка.

Читайте ещё материалы по теме:

Источники
ФИПС

Сейчас на главной

Первые тяжёлые VTOL-беспилотники TFM-15-8E переданы по госпрограмме лизинга БАС
41 минуту назад
Первые тяжёлые VTOL-беспилотники TFM-15-8E переданы по госпрограмме лизинга БАС

Дрон относится к аппаратам самолётного типа с вертикальным взлётом и посадкой

Новости Авиация ГТЛК «ЛМТ»
Андрей Рудковский
Редкий танк Т-55АМ с «бровями Ильича» впервые получит «мангал» против дронов
53 минуты назад
Редкий танк Т-55АМ с «бровями Ильича» впервые получит «мангал» против дронов

В Сети показали превращение машины в «сарай» на гусеницах

Новости Военная техника
Максим Борисов
Ростовская АЭС начинает плановый ремонт второго энергоблока ВВЭР-1000
56 минут назад
Ростовская АЭС начинает плановый ремонт второго энергоблока ВВЭР-1000

Регламентные работы пройдут на реакторной установке и в турбинном оборудовании

Новости Промышленность
Андрей Рудковский
С 1 апреля Telegram полностью заблокируют в России?: Роскомнадзор прокомментировал слухи о блокировке
1 час назад
С 1 апреля Telegram полностью заблокируют в России?: Роскомнадзор прокомментировал слухи о блокировке

В Госдуме информацию о запрете работы мессенджера назвали преждевременной

Новости ПО и Приложения Роскомнадзор
Алина Шруб
МС-21-310 продолжает сертификационные испытания в Сыктывкаре
1 час назад
МС-21-310 продолжает сертификационные испытания в Сыктывкаре

Самолёт с бортовым номером 73055 впервые приземлился в столице Коми после перелёта Жуковский — Воркута

Новости Авиация ОАК
Андрей Рудковский
Это не «Орешник»: аналитик Лебедев раскрыл тайну пусков с Капустина Яра 17 февраля
1 час назад
Это не «Орешник»: аналитик Лебедев раскрыл тайну пусков с Капустина Яра 17 февраля

На полигоне в Астраханской области прошли испытания С-500 «Прометей»

Новости Военная техника Капустин Яр
Максим Борисов
Монтаж второго ветрозащитного барьера высотой 25 метров завершили в порту «Остерра»
1 час назад
Монтаж второго ветрозащитного барьера высотой 25 метров завершили в порту «Остерра»

Защитное сооружение, предотвращающее распространение угольной пыли, достигает высоты девятиэтажного здания

Новости Промышленность
Андрей Рудковский
Затмение с «огненным кольцом» началось на Земле — его видно в Антарктиде
1 час назад
Затмение с «огненным кольцом» началось на Земле — его видно в Антарктиде

Событие стало первым из двух затмений в 2026 году

Новости Наука Лаборатория солнечной астрономии ИКИ и ИСЗФ
Алина Шруб
Первую роботизированную РСЗО «Культиватор» с авиационными блоками УБ-32-57 создали в России
1 час назад
Первую роботизированную РСЗО «Культиватор» с авиационными блоками УБ-32-57 создали в России

Эффективная дальность ведения огня — 2 км, максимальная — 4 км

Новости Военная техника
Максим Борисов
Самолётостроение малой авиации в России ещё можно вернуть к жизни
1 час назад
Самолётостроение малой авиации в России ещё можно вернуть к жизни

В стране осталась документация для производства воздушных судов

Новости Авиация
Максим Борисов
Белоруссия запускает производство ВСК-100: автомат на базе РПКМ выйдет в серию к концу 2026
1 час назад
Белоруссия запускает производство ВСК-100: автомат на базе РПКМ выйдет в серию к концу 2026

Освоение ствола стало самым сложным этапом в локализации

Новости Военная техника
Андрей Рудковский
Суверенитет в батарейной отрасли: производство электролитов для аккумуляторов запустили в Росатоме
1 час назад
Суверенитет в батарейной отрасли: производство электролитов для аккумуляторов запустили в Росатоме

На новой промышленной площадке в Москве будут выпускать восемь марок электролита

Новости Промышленность ГК «Росатом»
Алина Шруб