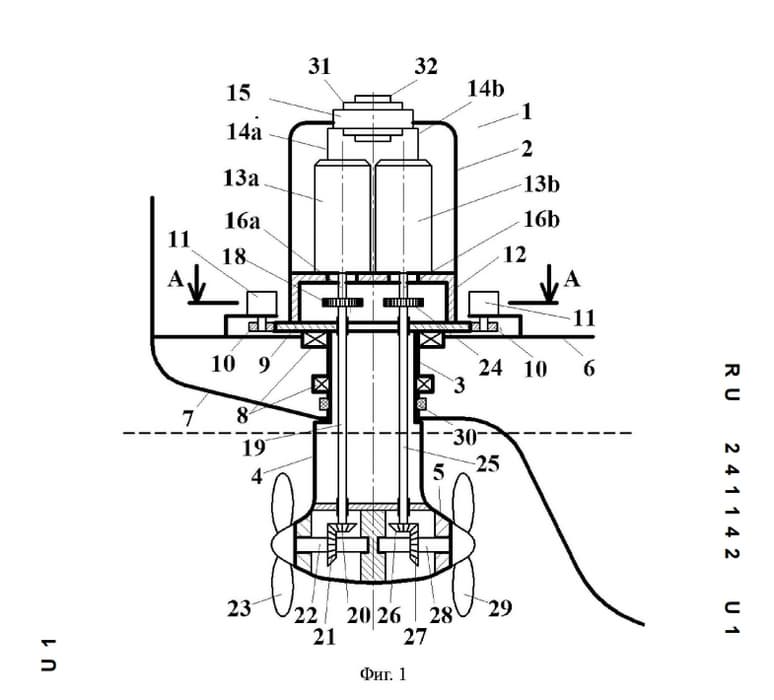
В России зарегистрировали полезную модель «Судовая движительная установка», ориентированную на уменьшение габаритов корабельных приводов без потери мощности. Разработка относится к судостроению и предназначена для более плотного размещения движительных систем на борту.

Конструкция включает корпус с верхним цилиндрическим отсеком, рулём и гондолой, внутри которых вертикально размещены приводные электродвигатели.

Через блок контактных колец питание подаётся на моторы, вращение передаётся через цилиндрические и конические зубчатые передачи на два выходных вала с гребными винтами. Такая схема сохраняет мощность, но позволяет сократить диаметр верхнего отсека.

Ключевое отличие — вертикальная компоновка чётного числа быстроходных электродвигателей. За счёт этого уменьшаются размеры узла по сравнению с традиционными горизонтальными схемами, что упрощает интеграцию установки в корпус судна. Решение повысит гибкость компоновки и эффективность размещения энергетического оборудования.

Читать ещё материалы по теме:

Источники
ФИПС

Сейчас на главной

Назван срок запуска российского аналога Starlink
14 минут назад
Назван срок запуска российского аналога Starlink

Первые аппараты низкоорбитальной спутниковой группировки «Рассвет» отправят на орбиту в первом квартале 2026 года

Новости Наука «БЮРО 1440»
Максим Борисов
Какие направления развития ждут ВСМ?: Четыре версии продвижения проекта представят президенту России в марте 2026 года
19 минут назад
Какие направления развития ждут ВСМ?: Четыре версии продвижения проекта представят президенту России в марте 2026 года

Одним из предлагаемых маршрутов станет магистраль из Москвы в Минск

Новости Транспорт Минтранс России
Алина Шруб
Автомобили в России стали одними из самых дорогих в мире: средняя цена превысила 45 тыс. долларов
32 минуты назад
Автомобили в России стали одними из самых дорогих в мире: средняя цена превысила 45 тыс. долларов

Машины стоят дороже только в четырёх странах

Новости Авто «Автостат» 1
Олеся Михайлова
Кибермодули для полной автоматизации станков с ЧПУ и 3D-контроля качества показал в «Патриоте» Ростех
34 минуты назад
Кибермодули для полной автоматизации станков с ЧПУ и 3D-контроля качества показал в «Патриоте» Ростех

Робототехнические новинки повышают производительность и исключают брак на производстве

Новости Промышленность ГК «Ростех» «РТ-Техприёмка»
Андрей Рудковский
Новинка от КамАЗ: автоцистерну на шасси КАМАЗ-65658 вывели на рынок
38 минут назад
Новинка от КамАЗ: автоцистерну на шасси КАМАЗ-65658 вывели на рынок

Модель предназначена для транспортировки питьевой воды

Новости Транспорт ПАО «КАМАЗ»
Алина Шруб
Двухтопливные малооборотные двигатели для крупнотоннажных судов разрабатывают в России
58 минут назад
Двухтопливные малооборотные двигатели для крупнотоннажных судов разрабатывают в России

Опытный двигатель — на дизеле и тяжёлом топливе, затем серийная версия на природном газе

Новости Транспорт Промышленность ОСК
Андрей Рудковский
ГАЗ скрестил автобус с фургоном: получилась уникальная «Газель Логистик» для доставки
1 час назад
ГАЗ скрестил автобус с фургоном: получилась уникальная «Газель Логистик» для доставки

Новинка построена на шасси автобуса «Газель City», что снизило стоимость разработки

Новости Авто Горьковский автозавод
Олеся Михайлова
В России придумали способ резко уменьшить корабельный привод
1 час назад
В России придумали способ резко уменьшить корабельный привод

Новая судовая движительная установка снижает габариты без потери мощности благодаря вертикальной схеме электродвигателей

Новости Транспорт
Максим Борисов
Разработчик суверенного Рунета переводит почту на американский Exchange
1 час назад
Разработчик суверенного Рунета переводит почту на американский Exchange

Причина связана с экономической целесообразностью

Новости ПО и Приложения Информационная безопасность ПАО «Ростелеком» ООО «РДП Энтерпрайз»
Максим Борисов
Ресурс позвоночных имплантатов из никелида титана повысили инженеры МАИ
1 час назад
Ресурс позвоночных имплантатов из никелида титана повысили инженеры МАИ

Сплав с памятью формы сохраняет подвижность позвонков и выдерживает высокие нагрузки

Новости Наука МАИ
Андрей Рудковский
Двигатели корабля «Прогресс МС-30» подняли орбиту МКС до 422 км над Землёй
1 час назад
Двигатели корабля «Прогресс МС-30» подняли орбиту МКС до 422 км над Землёй

Высота космической станции увеличилась на 1,67 км

Новости Наука ГК «Роскосмос»
Алина Шруб
«Перевернёт доску»: на Западе восхитились возможностями Су-75 Checkmate
2 часа назад
«Перевернёт доску»: на Западе восхитились возможностями Су-75 Checkmate

Пользователи Сети остались в восторге от малозаметности истребителя, но предупредили о риске взлома

Новости Военная техника
Максим Борисов