В МАИ разработали 100-тонный самолёт-амфибию с ромбовидным крылом

Фюзеляж новой схемы работает как несущая поверхность

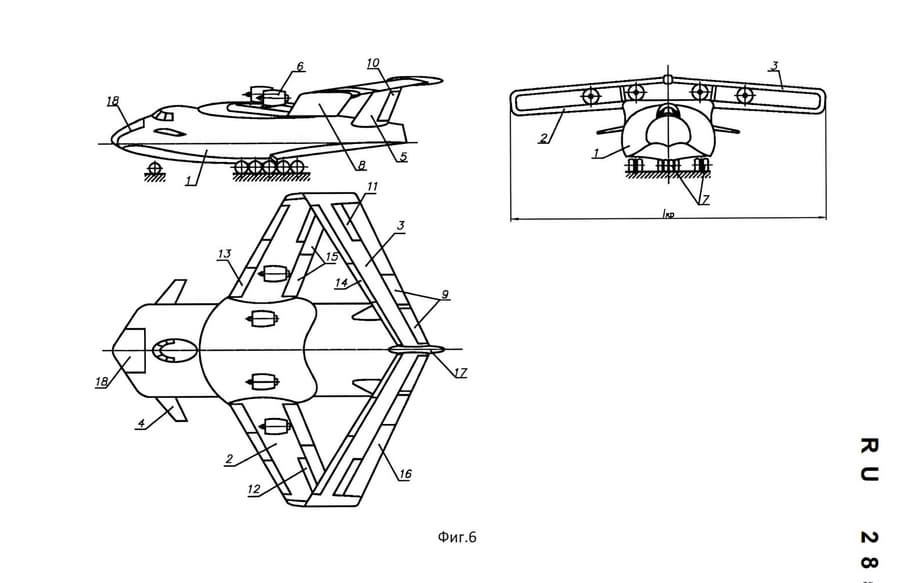
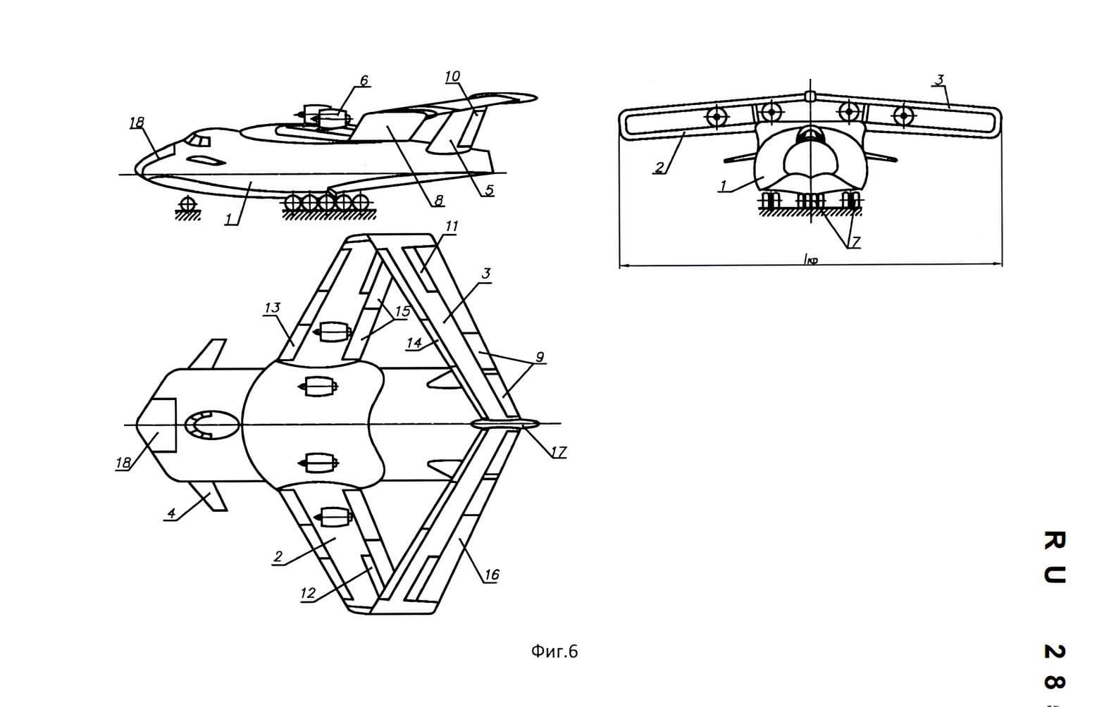
Инженеры Московского авиационного института (МАИ) разработали схему тяжёлого самолёта-амфибии с необычной компоновкой, увеличивающей подъёмную силу без роста габаритов. Главная особенность — замкнутое крыло ромбовидной формы.

Переднее и заднее крылья соединили в единую конструкцию, что снижает потери энергии в потоке и повышает эффективность полёта.

Такая компоновка позволяет приблизить грузоподъёмность к уровню тяжёлых транспортных самолётов — до 100–120 тонн — при габаритах около 50 метров.

Фюзеляж также работает как несущая поверхность: он создаёт дополнительную подъёмную силу и обеспечивает устойчивость на воде. Благодаря широкой базе инженеры МАИ предложили отказаться от внешних поплавков.

Нижняя часть корпуса спроектирована с высокой килеватостью (V-образной формой) и специальным уступом (реданом) — это облегчает разгон и отрыв от воды. На малых высотах дополнительно используется экранный эффект, снижающий расход топлива.

В теории такая схема может объединить возможности тяжёлых транспортников и амфибий, упростив работу на неподготовленных базах и в удалённых районах.

Читайте ещё материалы по теме:

Источники:
ФИПС

Сейчас на главной

Фейковые письма «из ФНС» о взломе личного кабинета: мошенники используют новую схему обмана россиян
14 апр. 2026 г., 18:30:36

ФНС неоднократно напоминала, что ведомство не просит личные данные, не требует перевести деньги на карту или пройти по ссылке