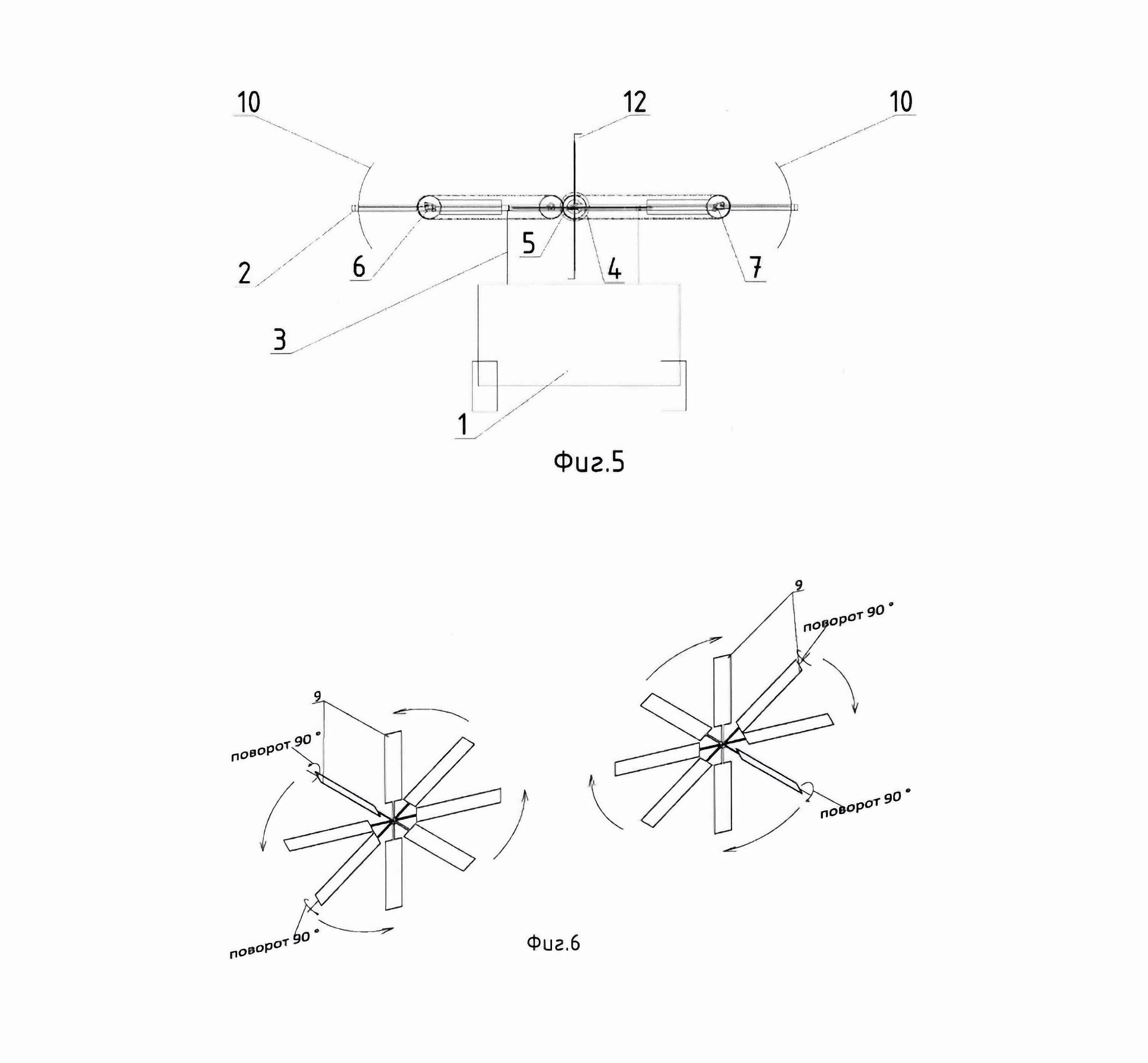
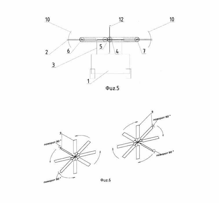
Московские инженеры Владимир Власов и Сергей Колпаков разработали роторный махолёт. У этого необычного летательного аппарата крылья не просто вращаются, а меняют угол атаки прямо во время движения.
Конструкция построена на сегментных крыльях, которые поворачиваются на 90° в процессе вращения ротора. За счёт этого элемент попеременно работает то как несущая поверхность, то как профиль с минимальным сопротивлением.
Два ротора вращаются в противоположные стороны, формируя непрерывную подъёмную силу без характерных «провалов» тяги, свойственных классическим машущим схемам.
В одном участке цикла сегмент создаёт подъёмную силу, а в другом — проходит в положении минимального сопротивления, снижая энергетические потери.
По описанию разработки, такая схема позволяет более эффективно использовать каждый участок вращения и уменьшить долю «нерабочей» фазы движения.
Инженеры подчеркнули, что итоговая подъёмная сила зависит от площади, геометрии и количества сегментов крыла.
Читайте ещё материалы по теме:
- Инженеры убрали главный минус газогенераторов — мощность стала гибкой
- Копирование чужих технологий тормозит авиапром в России
- В МАИ разработали 100-тонный самолёт-амфибию с ромбовидным крылом