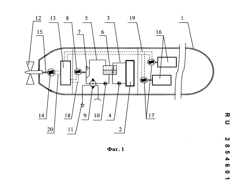
Конструктор Николай Кириллов запатентовал проект большой неатомной подводной лодки с вспомогательной атомной установкой малой мощности. Задумка устраняет ключевую проблему классических дизель-электрических подлодок (ДЭПЛ) — необходимость всплывать для подзарядки батарей.
В обычной ДЭПЛ энергетические аккумуляторы обеспечивают работу под водой лишь на несколько суток. После этого лодка вынуждена выходить на перископную глубину, чтобы запустить дизель-генераторы и подзарядить батареи.
В современных условиях такая тактика почти гарантирует обнаружение беспилотными летательными аппаратами, радиолокацией или тепловизорами противника, что критично снижает скрытность.
Кириллов предложил гибридную энергетическую схему. Проект предполагает установку моноблочной атомной станции малой мощности до 1 МВт в сочетании с дизель-электрическим двигателем и аккумуляторами.
Ядерный реактор с низким давлением теплоносителя и энергетический модуль на органическом цикле Ренкина вырабатывают электроэнергию в подводном положении без всплытия.
Это даёт подлодке значительно увеличенную автономность под водой, уменьшенный расход дизельного топлива и объём баков, сокращение времени на всплытие для подзарядки, повышенную скрытность в районе боевого патрулирования.
Читайте ещё материалы по теме:
- Носители «Калибров» подлодки «Якутск» и «Великие Луки» отправились на достройку в Санкт-Петербург
- Несущая «Калибры» подлодка «Великие Луки» в ходе испытаний погрузилась на 100 метров
- АПЛ «Хабаровск» спустили на воду и оснастили новейшими системами. Новые подробности
Сейчас на главной
Регулятор советует не ждать обращения человека, а сразу сообщать, почему введены ограничения и что делать дальше
Следующий этап проекта — производство медицинских изделий из натуральных биотканей
Defence blog: Северная Корея могла получить почти 15 миллиардов долларов за оружие, отправленное в РФ
Развитие ИИ может привести к сети, где основную активность будут генерировать нейросети
На подготовку и запуск «птички» нужно не более 15 минут
В «толкающем» режиме он охлаждается лучше, в «тянущем» — поток затеняется стендом
Американское издание The Drive обратило внимание на инженерный эксперимент, который уже вызвал споры в профильных сообществах
Идея сочленённых вагонов на тележках Якобса не нова — в РФ её уже прорабатывали
В комитете считают более уместной пометку «человеческого» контента, чем продукцию нейросетей
КНР наращивает мощности для массовых чипов, Россия — на начальном этапе импортозамещения
Лишь 7–10% пилотных проектов внедрения нейросетей дошли до промышленной эксплуатации
Роскосмос опубликовал подборку пейзажей планеты