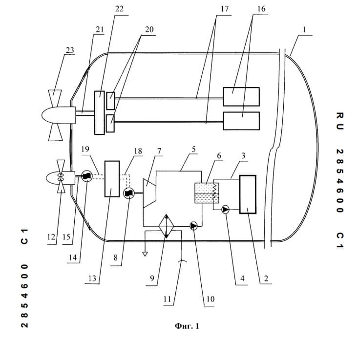
В России зарегистрировали полезную модель большой ракетной подводной лодки со вспомогательной атомной установкой малой мощности. Разработка решит главную проблему классических дизель-электрических подводных лодок (ДЭПЛ) — необходимость регулярно всплывать для зарядки батарей.
Новая конструкция снижает скрытность и повышает риск обнаружения. В новом проекте лодка получает компактную атомную установку, которая постоянно вырабатывает электроэнергию как в надводном, так и в подводном режиме.
Ключевое отличие — двухконтурная водо-органическая схема с реактором низкого давления. Такая компоновка уменьшает давление и температуру в первом контуре, снижает радиоактивные риски и позволяет сократить массу и габариты установки. Электрогенератор «мини-атома» работает вместе с дизелями и подзаряжает аккумуляторы без остановок.
Проект также предусматривает один гребной вал с винтом регулируемого шага. Это даёт гибкое управление скоростью и позволяет эффективнее распределять мощность между дизелями и атомным модулем.
По замыслу авторов, революционная схема повышает автономность, снижает расход топлива и упрощает компоновку по сравнению с традиционными решениями.
Передовые ДЭПЛ проекта 677 «Лада» славятся малошумностью, но вынуждены подниматься на поверхность из-за технических нюансов силовой установки. Патент решает эту проблему.
Читайте ещё материалы по теме:
- Носители «Калибров» подлодки «Якутск» и «Великие Луки» отправились на достройку в Санкт-Петербург
- Несущая «Калибры» подлодка «Великие Луки» в ходе испытаний погрузилась на 100 метров
- АПЛ «Хабаровск» спустили на воду и оснастили новейшими системами. Новые подробности
Сейчас на главной
Перехватчик МиГ-31 также опередил F-15EX Eagle II и F-22 Raptor
Военный журналист Кирилл Фёдоров: одна боевая машина обходится в 350 млн рублей
Модель самолёта и силовой установки показали в презентации в Казани
Личный кабинет, функционал подачи декларации 3-НДФЛ и формирования ЕНС работают в штатном режиме
Мельница и электросепарация подняли эффективность извлечения лопарита до 96%
Петербургские власти инвестируют в предприятие средства казначейского кредита
Восстановление TLS-сертификата и возврат в магазин приложений Apple под вопросом
Тяжёлая техника США оказалась капризной в обслуживании и слабой на чернозёме
На заводе подтвердили, что спрос на эти модели сохраняется, несмотря на запуск новых машин Sollers
Инновационные полувагоны на 25 тонна-сил удержали долю на обвалившемся рынке
Новые заслонки регулируют подачу воздуха в жаровую трубу, повышая эффективность двигателя
Переговоры Караника и Баканова идут на фоне успешного дебюта Василевской на МКС