Облегчённый линейный двигатель для транспорта создали в России

Новая конструкция снижает массу тягового модуля без потери мощности

В России зарегистрировали патент на линейный асинхронный двигатель с облегчённым вторичным элементом. Разработку оформили специалисты инженерно-научного центра «ТЕМП», документ опубликовали в базе ФИПС 29 января.

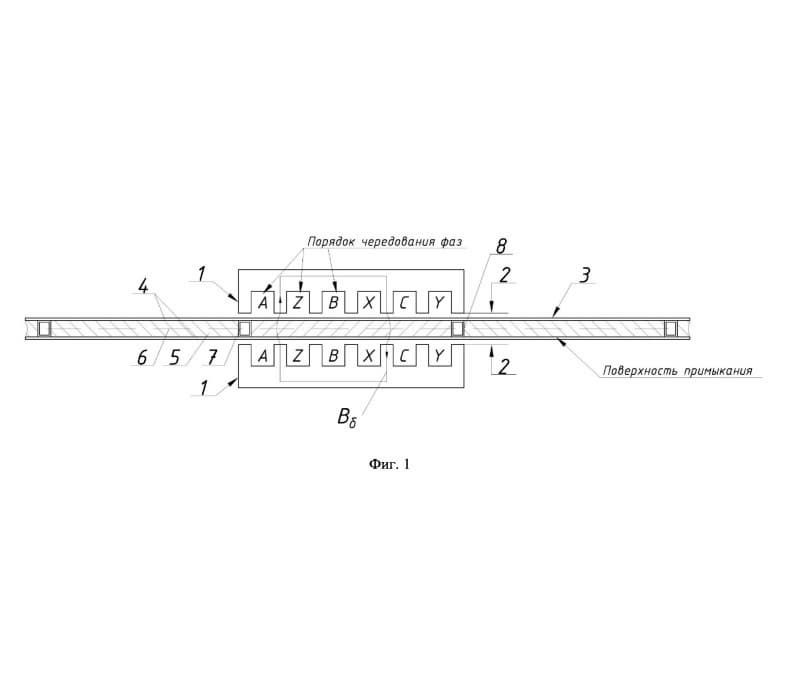
Речь идёт о двигателе, который используют в транспортных системах различного назначения — от промышленных линий до перспективных подвижных платформ. В таких установках вторичный элемент размещают между двумя индукторами, формирующими бегущее магнитное поле.

Раньше для обеспечения устойчивости применяли массивные ферромагнитные плиты. Это увеличивало массу конструкции, снижало тяговые характеристики и повышало энергопотребление. При росте нагрузок инженерам приходилось жертвовать эффективностью ради прочности.

Авторы патента предложили заменить сплошное основание решётчатой системой из продольных балок, вертикальных стоек и ферромагнитных прутков. Расстояние между элементами рассчитывают по формуле, связанной с рабочей индукцией и допустимыми нагрузками материала.

Такая компоновка сохраняет необходимый магнитный поток, но позволяет убрать лишний металл. В результате масса вторичного элемента сокращается без ухудшения тяги и стабильности работы.

Дополнительно разработчики предусмотрели проставки между электропроводящими накладками. Они компенсируют тепловое расширение при нагреве и снижают риск деформации в процессе эксплуатации.

Читайте ещё материалы по теме:

01 мая 19:29 Новости
Промышленность на ручнике: 41% станкостроения в России без автоматизации Исследование АПКИТ показало, почему станки с ЧПУ есть, а сквозной цифровизации производства почти нет
01 мая 14:25 Новости
Оренбургский ЛРЗ выходит на новый уровень ремонта тепловозов Предприятие освоило серийное обслуживание магистральных локомотивов 2ТЭ25КМ
01 мая 14:22 Новости
Завод чипов для С-500 «Прометей» на Урале за 2,4 млрд нашёл подрядчика с третьей попытки Экономист Григорий Коровин: инициатор не предложил рынку привлекательной модели участия в строительстве предприятия «Карат»
01 мая 13:45 Новости
Завод тяжёлой техники в Миассе могут обанкротить из-за долга Суд проверит обоснованность иска в июне
01 мая 13:19 Новости
Титан вместо стали: в Турцию ушло уникальное оборудование для АЭС «Аккую» «Вест-Инжиниринг» изготовила стенды КИП с повышенной коррозионной стойкостью для первого энергоблока станции
Источники:
ФИПС

Сейчас на главной

Внук Кастро призвал Кубу взять российские мини-АЭС: так остров спасётся от блэкаутов
31 минуту назад

Фидель-Антонио Кастро-Смирнов считает, что компактные атомные станции могут заменить нестабильную солнечную генерацию и дорогую нефть

Использование топливных добавок могут продлить в России для наращивания выпуска бензина и дизеля
1 час назад

Вице-премьер РФ Новак: Механизм позволит сохранить доступность топлива для водителей, мера показала эффективность